EasyManua.ls Logo

Jct JES-301 - Page 5

Default Icon
34 pages
Print Icon
To Next Page IconTo Next Page
To Next Page IconTo Next Page
To Previous Page IconTo Previous Page
To Previous Page IconTo Previous Page
Loading...
M
anual JES-301/JES-301V
BA_DE_JES301_v2.1 ––––––––––––––– [ 5 / 34 ] –––––––––––––––––
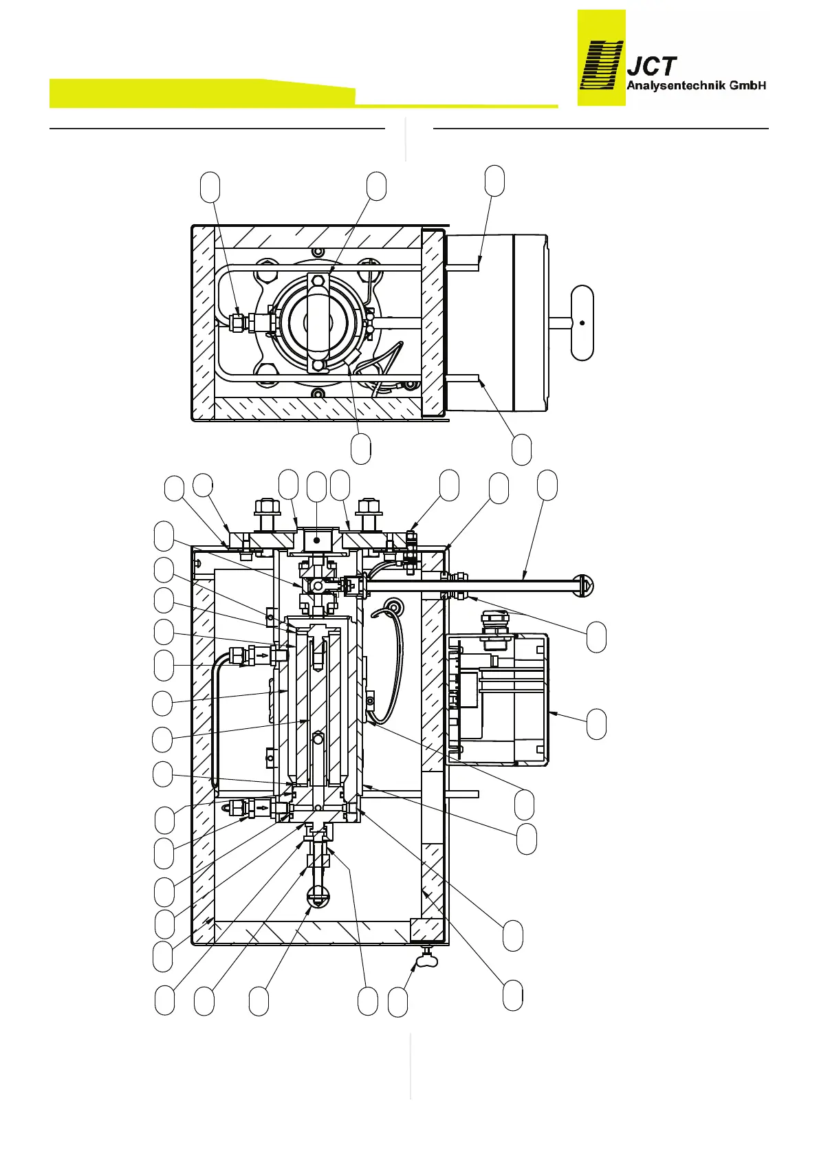
Gas sampling probe JES-301V with process shut-off valveGasentnahmesonde JES-301V mit Prozessabsperrventil
)
)
)
)
)
) )
)
)
)
)) ) ) ) ) ) ) ) ) ) ) ) ) ) )
) ) ) ) ) ) ) ) ) ) ) ) ) ) ) ) ) ) ) ) ) ) ) ) )
)
)
) )
)
)
) ) ) ) ) ))*A*
)
) )
) )
) )







 




















Table of Contents