EasyManua.ls Logo

Jct JES-301 - Beschreibung; Description

Default Icon
34 pages
Print Icon
To Next Page IconTo Next Page
To Next Page IconTo Next Page
To Previous Page IconTo Previous Page
To Previous Page IconTo Previous Page
Loading...
CAUTION
The sample probe JES-301 is not suitable for use in ha-
z
ardous areas.
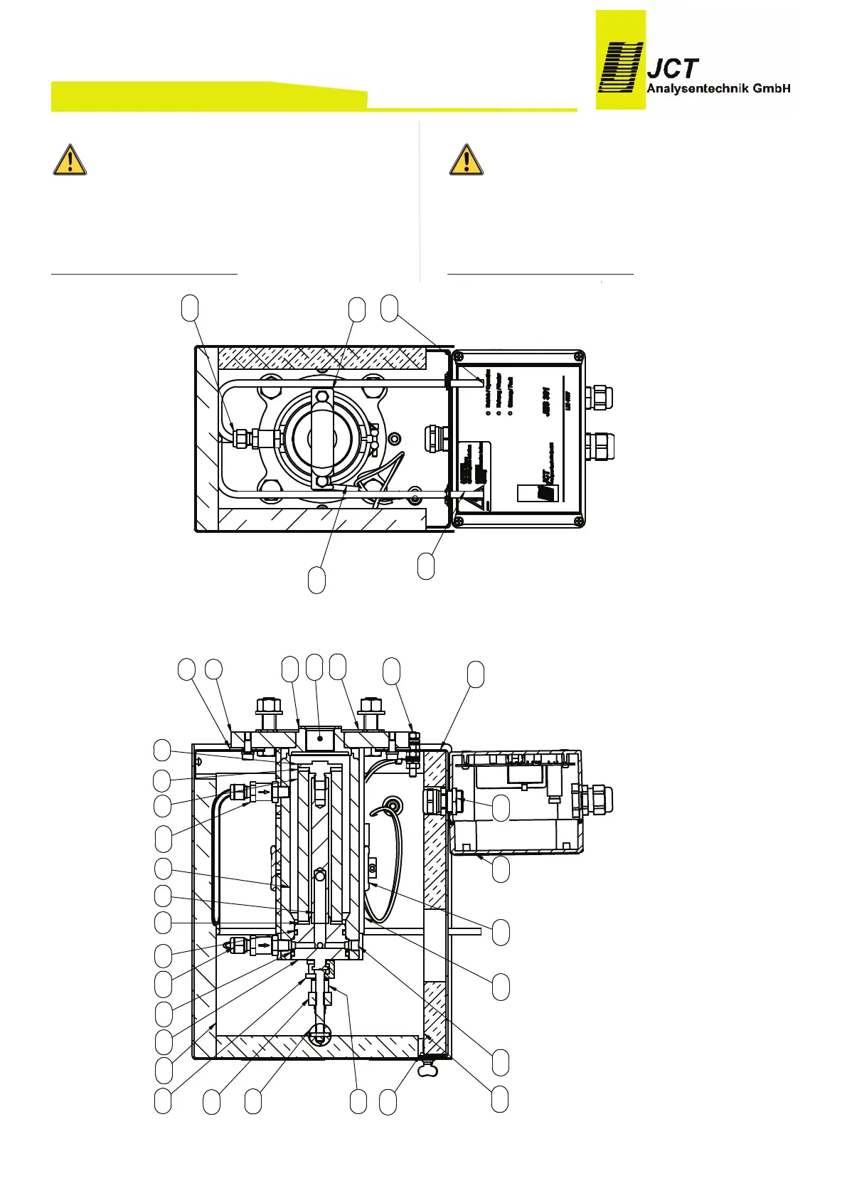
Description2.
Gas sampling probe JES-301
VORSICHT
D
ie Gasentnahmesonde JES-301 ist nicht für den Ein-
satz in explosionsgefährdeten Bereichen geeignet.
Beschreibung2.
Gasentnahmesonde JES-301
M
anual JES-301/JES-301V
BA_DE_JES301_v2.1 ––––––––––––––– [ 4 / 34 ] –––––––––––––––––
,
,
,
,
,
, ,
,
,
,
,, , , , , , , , , , , , , , ,
, , , , , , , , , , , , , , , , , , , , , , , , ,
,
,
, ,
, , ,
, , ,,
, , , , , ,,
,
* 1* 1
* *

-
%










-
 
-- -



-
-
-%
-
-
-
-

Table of Contents