EasyManua.ls Logo

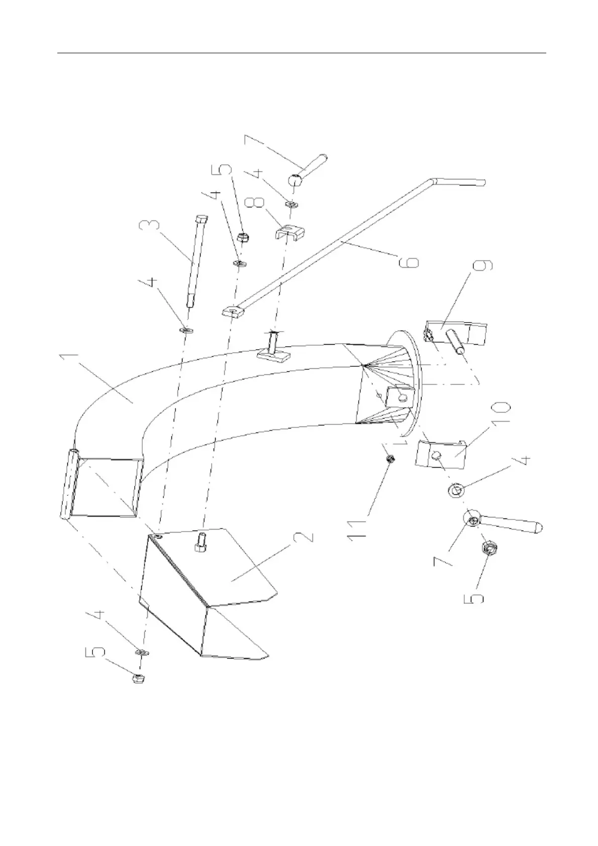
Jensen A530 - Ejector Assembly

Jensen A530
72 pages
Print Icon
To Next Page IconTo Next Page
To Next Page IconTo Next Page
To Previous Page IconTo Previous Page
To Previous Page IconTo Previous Page
Loading...
Auswerfer
Ejector
Goulotte d'éjection
Die mit einem "+" gekennzeichneten Teile sind nicht abgebildet!
Parts marked "+" are not shown in figures!
Les positons précédées du signe "+" ne sont pas représentées!

Table of Contents

Related product manuals