EasyManua.ls Logo

Jet-tech F18 - Wash System Components; Part Breakdown and Assembly

Jet-tech F18
33 pages
Print Icon
To Next Page IconTo Next Page
To Next Page IconTo Next Page
To Previous Page IconTo Previous Page
To Previous Page IconTo Previous Page
Loading...
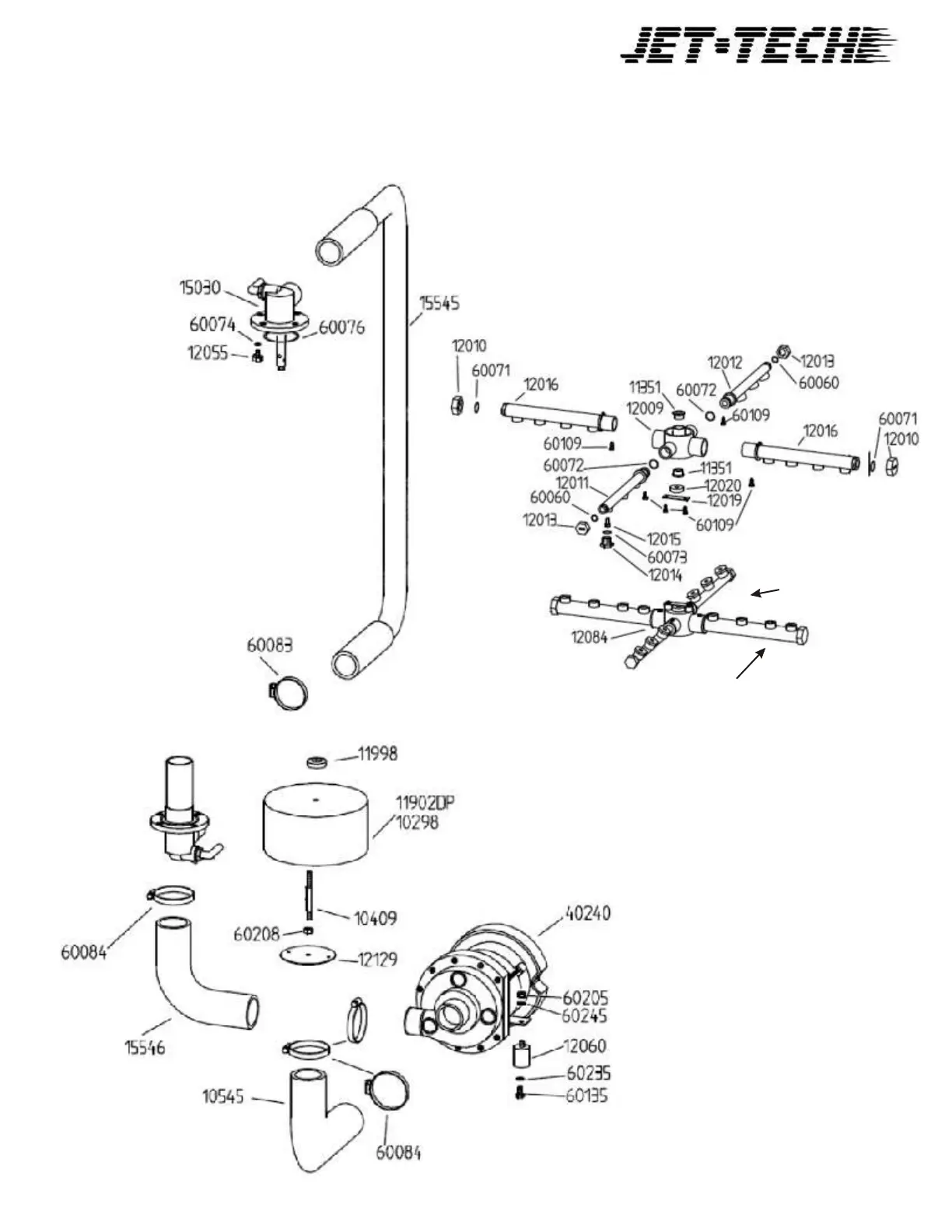
WASH SYSTEM
Wash
Rinse
18
1 888 275 4538 - 611
514 737 9701 - 611
FAX 514 737 2792

Related product manuals