EasyManua.ls Logo

Jet GH-1660ZX - Page 70

Default Icon
84 pages
To Next Page IconTo Next Page
To Next Page IconTo Next Page
To Previous Page IconTo Previous Page
To Previous Page IconTo Previous Page
Loading...
50
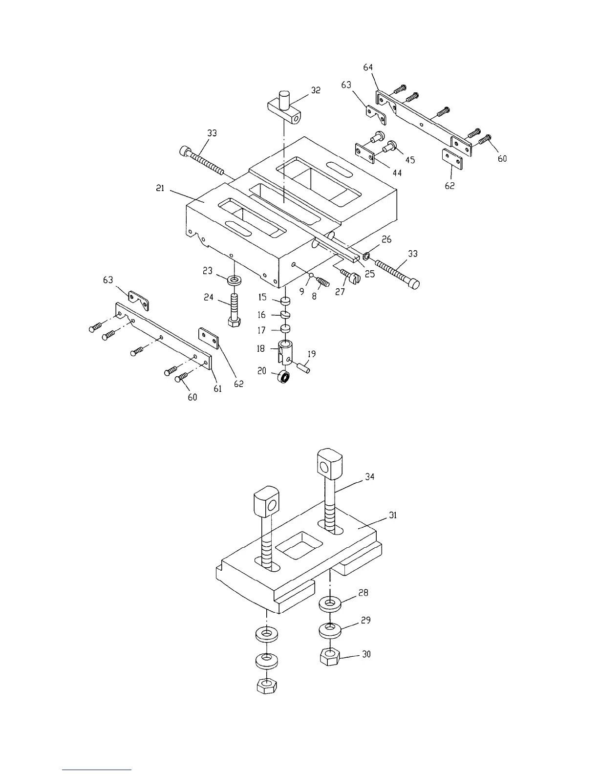
Tailstock Assembly II

Other manuals for Jet GH-1660ZX

Related product manuals