EasyManua.ls Logo

JLG E600JP - Hub Assembly - Sheet 1 of 2

JLG E600JP
222 pages
Print Icon
To Next Page IconTo Next Page
To Next Page IconTo Next Page
To Previous Page IconTo Previous Page
To Previous Page IconTo Previous Page
Loading...
SECTION 3 - CHASSIS & TURNTABLE
3-18 – JLG Lift – 3121813
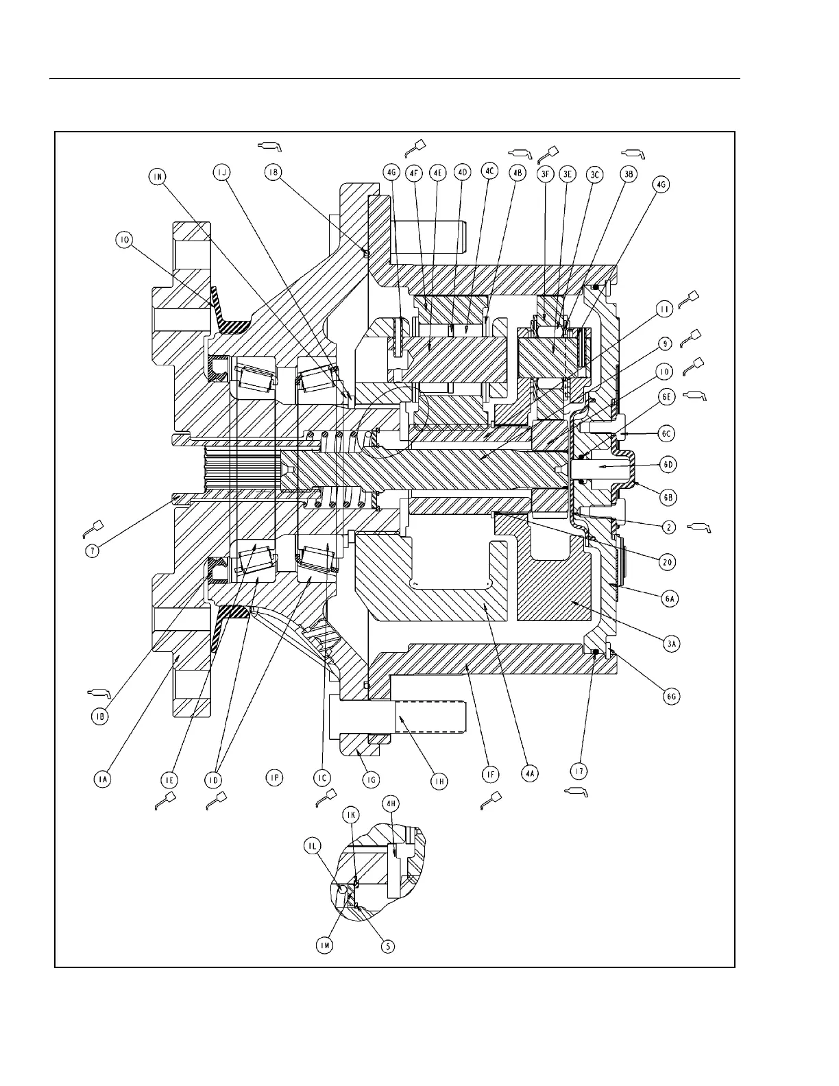
Figure 3-9. Hub Assembly - Sheet 1 of 2

Table of Contents

Other manuals for JLG E600JP

Related product manuals