EasyManua.ls Logo

JohnnyVac XV10 Plus - Components & Accessories

JohnnyVac XV10 Plus
16 pages
Print Icon
To Next Page IconTo Next Page
To Next Page IconTo Next Page
To Previous Page IconTo Previous Page
To Previous Page IconTo Previous Page
Loading...
4
User guide
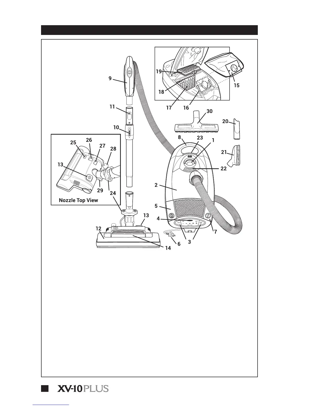
1. Intake
2. Top Cover
3. Variable Suction Control
4. Bag Full Indicator
5. Cordwinder Pedal
6. Power Cord
7. Power ON/OFF Pedal
8. Carrying Handle
9. Handle with Hose
10. Telescopic Wand
11. Wand Release Latch
12. Carpet & Floor Power Nozzle
13. Brushroll ON/OFF Switch
14. Headlight
15. Disposable Filter Bag
16. Bag Dock
17. Motor Filter Grill
18. Motor Filter
19. Hepa Media Filter
20. Crevice Tool
21. Combination Tool
22. Tool Lid Latch
23. Bag Lid Latch
24. Nozzle Release Latch
25. Overload Protector Reset
26. Carpet Height Indicator
27. Dirt Sensor
28. Carpet Height Adjusment
29. Handle Position Release
30. Hard Floor Tool
2- COMPONENTS & ACCESSORIES

Related product manuals