EasyManua.ls Logo

JOYEE ZJ9610 - 机头零件; Needle Head Parts

Default Icon
155 pages
Print Icon
To Next Page IconTo Next Page
To Next Page IconTo Next Page
To Previous Page IconTo Previous Page
To Previous Page IconTo Previous Page
Loading...
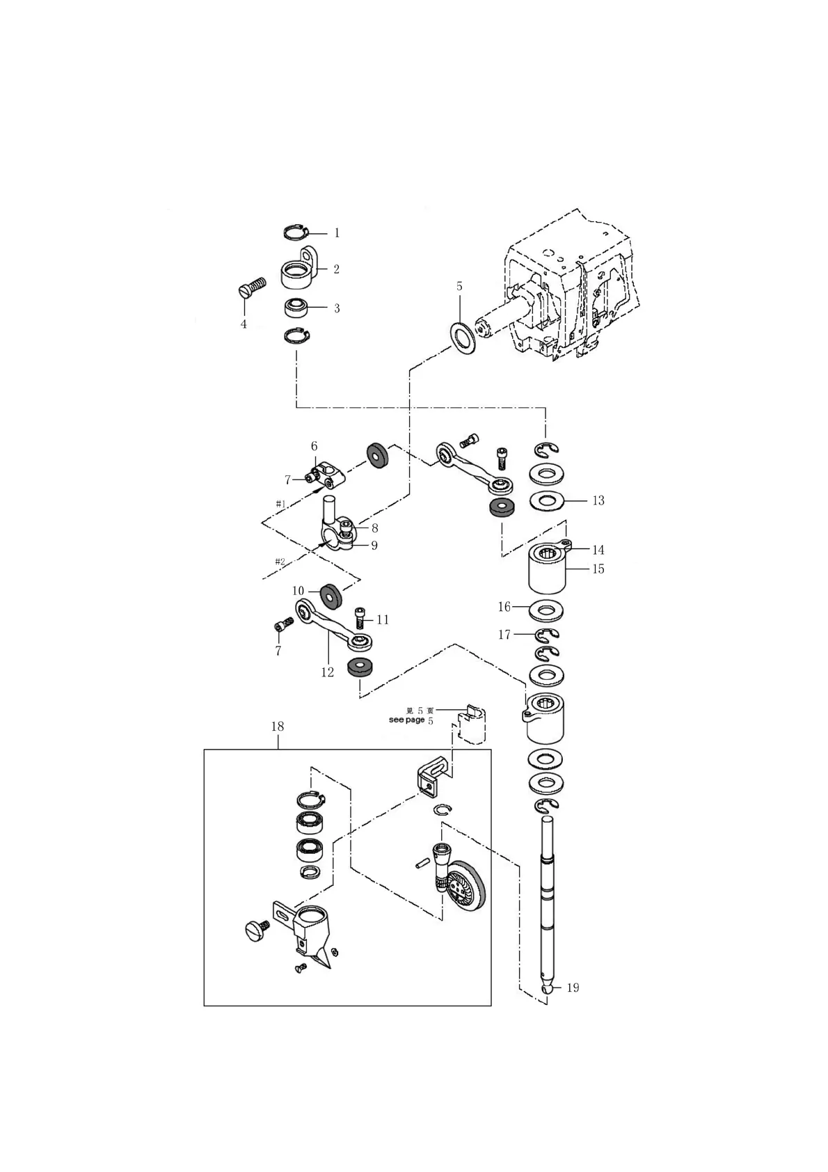
机头零件
Needld head parts
-3-