EasyManua.ls Logo

JP Selecta UV 2005 - Page 41

JP Selecta UV 2005
Print Icon
To Next Page IconTo Next Page
To Next Page IconTo Next Page
To Previous Page IconTo Previous Page
To Previous Page IconTo Previous Page
Loading...
INSTRUCTION MANUAL CODE 80243 REV A January/11 (It can be modied without notice) Page: 41
J.P. SELECTA s.a. Ctra. NII Km 585.1 Abrera 08630 (Barcelona) España Tel 34 93 770 08 77 Fax 34 93 770 23 62
e-mail: selecta@jpselecta.es - website: http://www.jpselecta.es
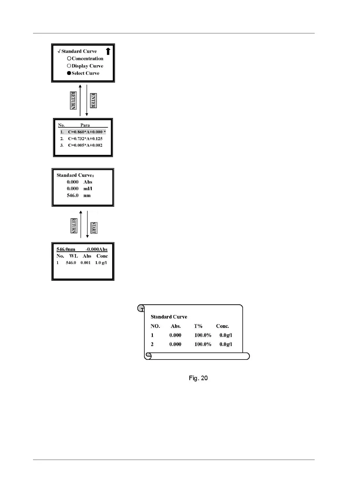
Press [RETURN] to go back to pre-testing interface.
Note:
If you want to delete an equation, move the cursor onto it, and just press [CLEAR].
Test and Print
When you have selected the equation, press [START/STOP] to go into testing
interface in pre-testing interface. (Fig. 19)
After blanking, pull the unknown sample cuvette in the light path, then press [EN-
TER]. The testing result will be displayed on the screen.
Operation is the same if you want to test other samples.
Press [PRINT] to print testing results. (Fig. 20)
Figure 18
Figure 19

Related product manuals