EasyManua.ls Logo

JP Selecta UV 2005 - Load Default; Lamp Change; Version of Instrument

JP Selecta UV 2005
Print Icon
To Next Page IconTo Next Page
To Next Page IconTo Next Page
To Previous Page IconTo Previous Page
To Previous Page IconTo Previous Page
Loading...
INSTRUCTION MANUAL CODE 80243 REV A January/11 (It can be modied without notice) Page: 51
J.P. SELECTA s.a. Ctra. NII Km 585.1 Abrera 08630 (Barcelona) España Tel 34 93 770 08 77 Fax 34 93 770 23 62
e-mail: selecta@jpselecta.es - website: http://www.jpselecta.es
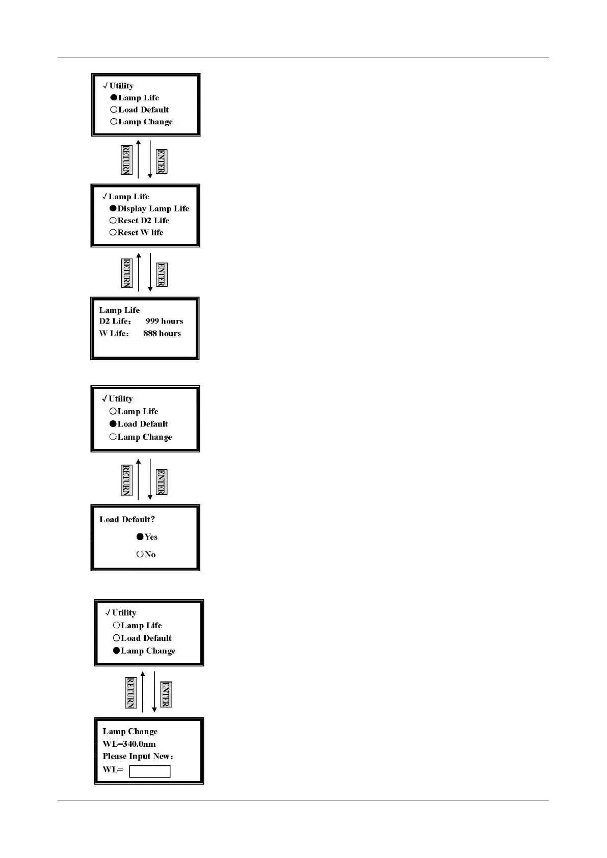
lamp. (Fig. 49)
When the used time of D2 lamp is higher than 1000 hours, replacing a new one is
strongly recommended.
When the used time of W lamp is higher than 1000 hours, replacing a new lamp is
strongly recommended.
When you have replaced a new lamp, you’ll have to go into the lamp life
setting screen, and move the cursor on the “Reset W Life” or “Reset D2 Life” by
pressing [»] and [«] followed by [ENTER] to reset them into zero.
7.8 Load Default
Move the cursor onto Load Default by pressing [»] and [«] in utility setting screen,
and then press [ENTER]. (Fig. 50)
If you want to default the parameters, choose “Yes” in the lower screen of Fig. 50.
If not, you should choose “No”.
Press [RETURN] to exit without any choice.
7.9 Lamp Change
Move the cursor on Lamp Change” by pressing [»] and [«] in utility setting screen,
then press [ENTER]. (Fig. 51)
Input the new wavelength you want by pressing the numeric keypad followed by
[ENTER].
Lamp change wavelength means the point at which W lamp and D2 lamp exchange.
The range of it is 300 - 400, other value is invalid.
7.10 Version of Instrument
Move the cursor onto Version by pressing [»] and [«] in the utility setting screen,
and then press [ENTER]. Then you will nd the detailed messages of the instrument.
Figure 49
Figure 50
Figure 51

Related product manuals