EasyManua.ls Logo

JUMO EM-50 - Page 24

JUMO EM-50
44 pages
Print Icon
To Next Page IconTo Next Page
To Next Page IconTo Next Page
To Previous Page IconTo Previous Page
To Previous Page IconTo Previous Page
Loading...
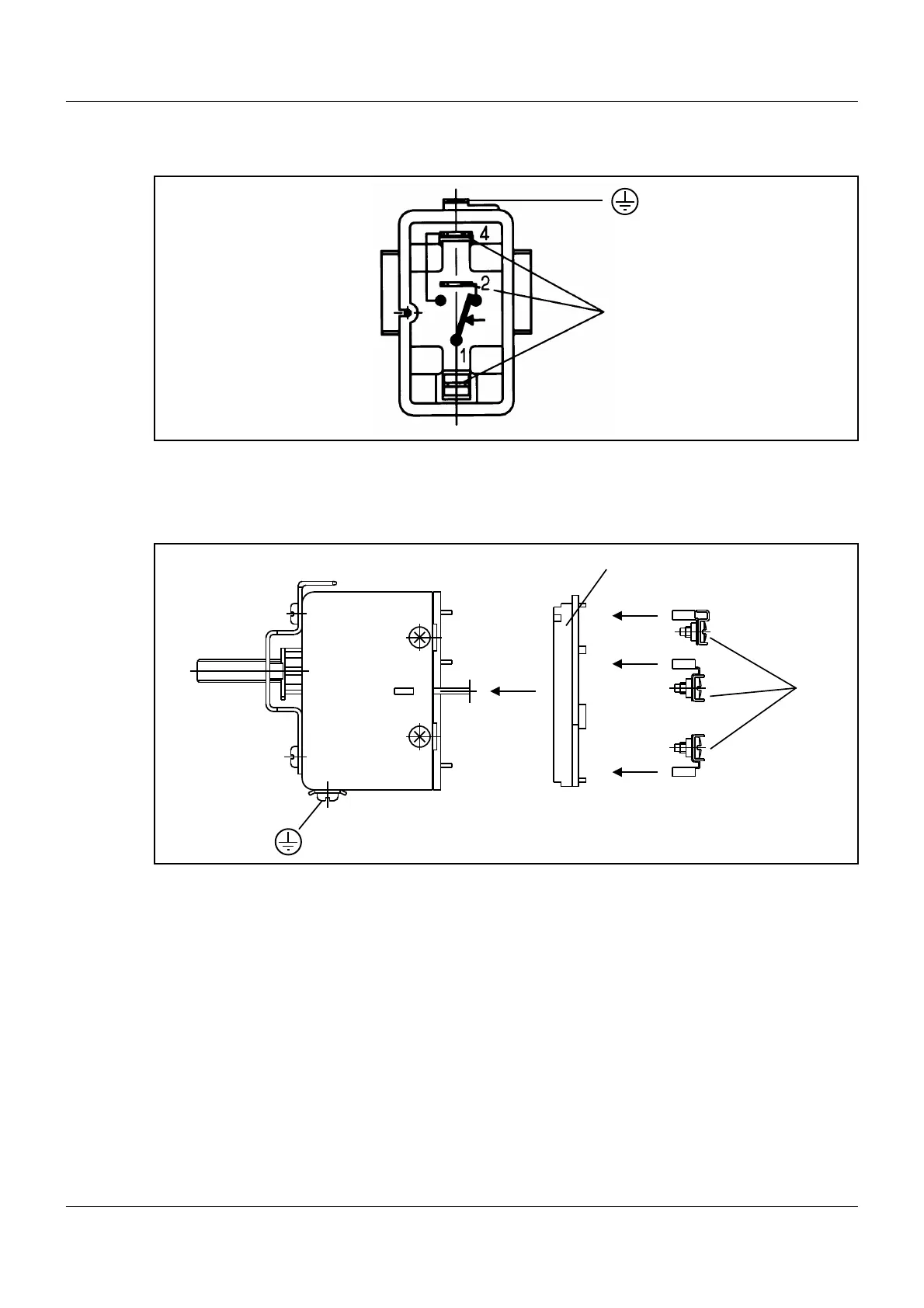
5 Installation
24
Plug connection
Standard
Screw connection
Extra code 699
(1) Tab connector DIN 46244-A, 6,3 × 0,8
(1)
(1) Plug-in sleeve 6.3 with connection screw, suitable for conductor cross-sections up to 2.5 mm
2
,
attachment type X, no special tools
(2) Terminal strip
(1)
(2)

Related product manuals