EasyManua.ls Logo

JVC AX-F1GD - Page 5

JVC AX-F1GD
10 pages
Print Icon
To Next Page IconTo Next Page
To Next Page IconTo Next Page
To Previous Page IconTo Previous Page
To Previous Page IconTo Previous Page
Loading...
N(-FlGD
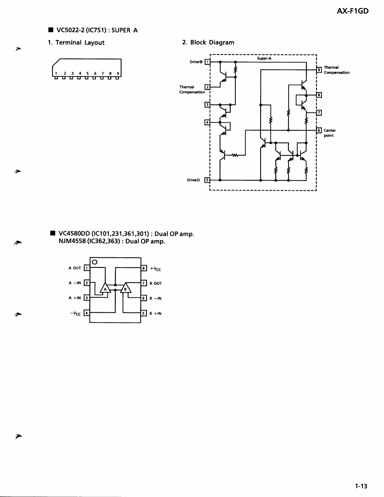
I VCs022-2(tC7s1)
: SUPER
1. Terminal
Layout
123456789
Thermal
Compensation
VC4580DD
(lCl
01,231,361,301)
: Dual
OP amp.
NJM4558
(1C352,363)
:
Dual
OP amp.
Block Diagram
r----
Super-A
!
2.
v
Thermal
Compensation
7
F
A
OUT
A
_IN
A +IN
-vcc
+Vcc
B
OUT
^
B
-IN
B
+IN
v
1-13

Related product manuals