EasyManua.ls Logo

JVC DD-3 - Page 151

JVC DD-3
168 pages
Print Icon
To Next Page IconTo Next Page
To Next Page IconTo Next Page
To Previous Page IconTo Previous Page
To Previous Page IconTo Previous Page
Loading...
4
Introduction
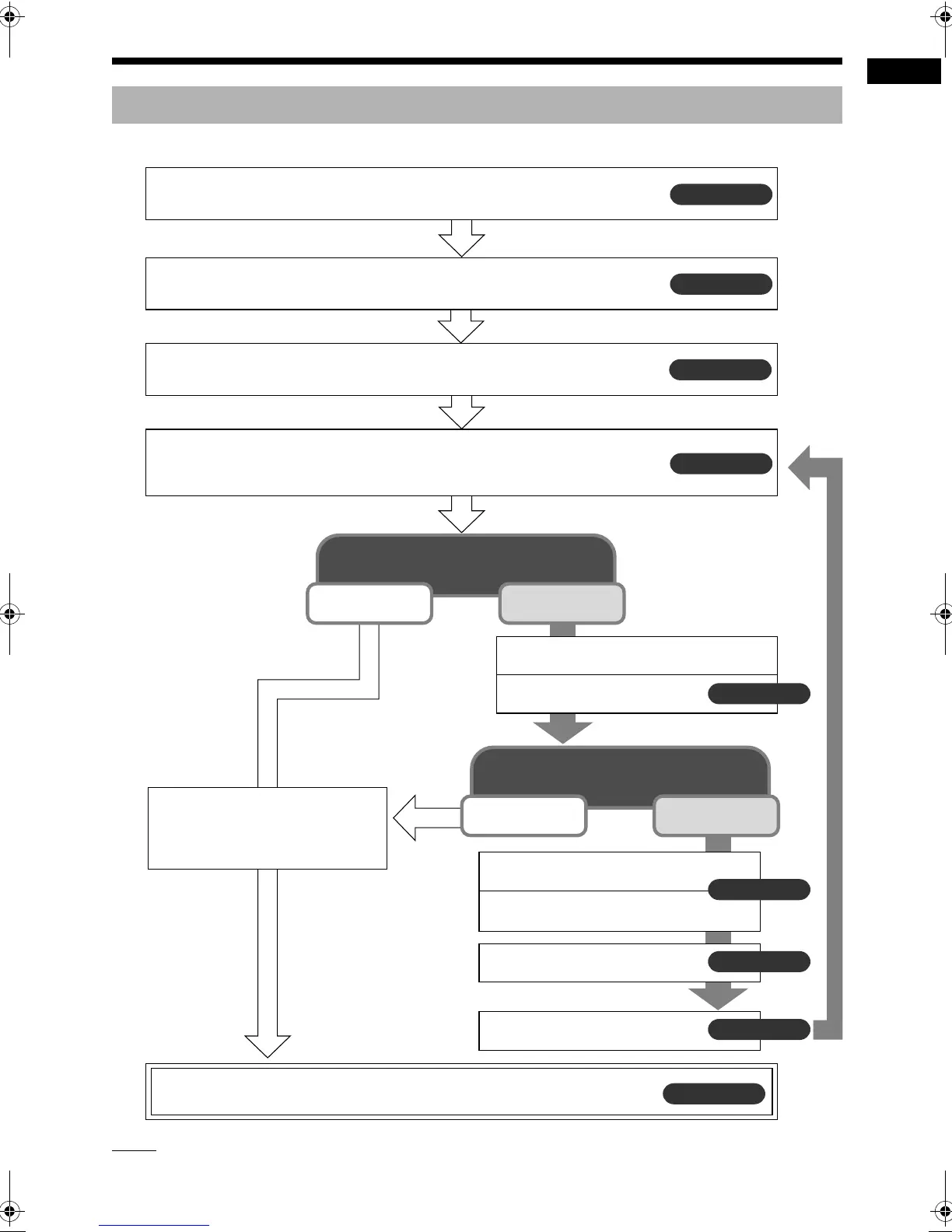
Set up the system following the flow chart shown below. The procedure for setting up the system differs
depending on your usage environment.
NOTE
To connect the main unit to the computer directly, refer to “Connecting the main unit to the computer directly”
on page 19.
General flow chart for the network function
Page 6
Install CyberLink Media Server to your computer.
Connect the main unit to the router connected to your computer.
Page 7
Page 9
Page 10
Page 10
Page 11
Page 13
Page 16
Page 8
Start CyberLink Media Server, and then make sure that the main unit
recognizes CyberLink Media Server.
Make sure that the main unit
is turned on.
Check the cable connection.
The IP address has to be set up
manually.
Exit CyberLink Media Server.
Find out the IP address of your
computer.
Assign the IP address to the main
unit.
The setup is complete.
Now you can enjoy playback of files stored on the computer!
Specify the shared folders.
The IP address is assigned auto-
matically using the DHCP func-
tion of the router.
Does the main unit recognize
CyberLink Media Server?
Does the main unit recognize
CyberLink Media Server?
Yes
Yes
No
No
DD-83[A_UX].book Page 4 Thursday, September 7, 2006 2:50 PM

Table of Contents

Related product manuals