EasyManua.ls Logo

JVC RM-P210 - Menu Setup Method Guide

JVC RM-P210
32 pages
Print Icon
To Next Page IconTo Next Page
To Next Page IconTo Next Page
To Previous Page IconTo Previous Page
To Previous Page IconTo Previous Page
Loading...
20
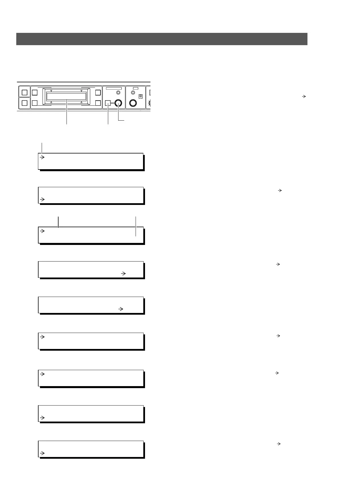
MENU SETUP METHOD
Each menu is displayed on the LCD display and can be set up using the MENU button and the control knob.
The values set in the "4: PROCESS" and "5: OPERATION" menus can be saved in files A and B.
MENU OPERATION
1.
Press and hold the MENU button for about 1 second until
the LCD display shows the menu display. The cursor (
)
indicates that the item being pointed to can be varied.
M
FULL AUTO F1
SHUTTER
GAIN
F2
F3
MENU/SHUTTER GAIN
P
R
STEP
SHUTTER
MENU
PUSH-ON
DOWN UP
VARIABLE
PUSH-ON
HIGH
LOW
MID
DOWN UP
F4
BARS
LCD display MENU button
Control knob
STR
CMP
OFF
0dB
ALC
LUX
2.
Turn the control knob to move the cursor ( ) to the de-
sired item.
1.
1: GEN LOCK
2: CABLE
Cursor
2.
1: GENLOCK
2: CABLE
2A: LENGTH
20M
3.
Item Setting
4.
2A: LENGTH
20M
5.
2A: LENGTH
100M
3.
Press the control knob to display the name and current
setting of the next item.
4.
Press the control knob to move the cursor ( ) to the posi-
tion of the currently set value.
5.
Turn the control knob to adjust the setting.
6.
2A: LENGTH
100M
6.
Press the control knob to move the cursor ( ) back to the
item.
7.
2Z: BACK
7.
Turn the control knob to move the cursor ( ) to BACK.
8.
1: GENLOCK
2: CABLE
8.
Press the control knob to return to the previous menu.
<Example of changing the camera cable length from 20 m to 100 m>
9.
7: SYSTEM RESET
8: EXIT
9.
After completing the setup, move the cursor ( ) to “8: EXIT”
and press the control knob to return to the normal display.

Related product manuals