EasyManua.ls Logo

JVC RX-8012RSL

JVC RX-8012RSL
141 pages
To Next Page IconTo Next Page
To Next Page IconTo Next Page
To Previous Page IconTo Previous Page
To Previous Page IconTo Previous Page
Loading...
RX-8010RBK/ RX-8012RSL
1-16
1OUT1
2-IN1
3+IN1
4
8
7
6
5V
EE
VCC
OUT2
-IN2
+IN2
2
1
-
+
-
+
IN1
CTL A
VOUT 1
V
CC
IN2
CTL B
logic
logic
MONITOR OUT
GND
IN5
GND
IN4
CTL E
IN3
CTL D
16
15
14
13
12
11
VOUT 2
CTL C
1
2
3
4
5
6
7
8
A B E MONITOR OUT
LL
*
IN1
HL
*
IN2
LH
*
IN3
H H L IN4
H H H IN5
C D E VOUT1
LL
*
--
HL
*
IN2
LH
*
IN3
H H L IN4
H H H IN5
C D E VOUT2
LL
*
IN1
HL
*
--
LH
*
IN3
H H L IN4
H H H IN5
10
11
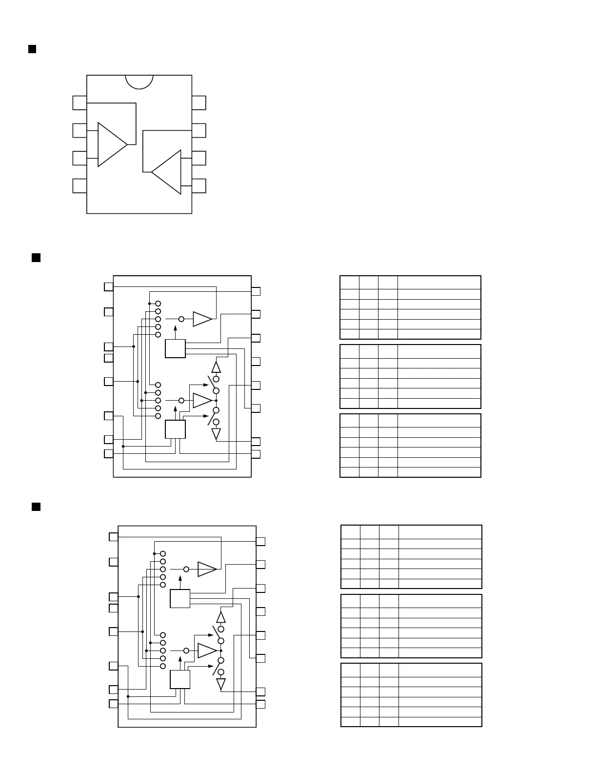
BA7625 (IC201, IC242) : Video selector
IN1
CTL A
VOUT 1
V
CC
IN2
CTL B
logic
logic
MONITOR OUT
GND
IN5
GND
IN4
CTL E
IN3
CTL D
16
15
14
13
12
11
VOUT 2
CTL C
1
2
3
4
5
6
7
8
A B E MONITOR OUT
LL
*
IN1
HL
*
IN2
LH
*
IN3
H H L IN4
H H H IN5
C D E VOUT1
LL
*
--
HL
*
IN2
LH
*
IN3
H H L IN4
H H H IN5
C D E VOUT2
LL
*
IN1
HL
*
--
LH
*
IN3
H H L IN4
H H H IN5
10
11
BA7626 (IC241) : Video selector
BA15218F (IC303, IC304, IC372, IC385, IC386, IC521, IC522, IC523, IC524, IC525, IC526,
IC527, IC528, IC529) : Op amp.

Table of Contents

Related product manuals