EasyManua.ls Logo

Kampmann 30056 - 11 Anschlußbilder

Kampmann 30056
Print Icon
To Next Page IconTo Next Page
To Next Page IconTo Next Page
To Previous Page IconTo Previous Page
To Previous Page IconTo Previous Page
Loading...
Uhrenthermostat, Typ 30056/146910
Seite 10
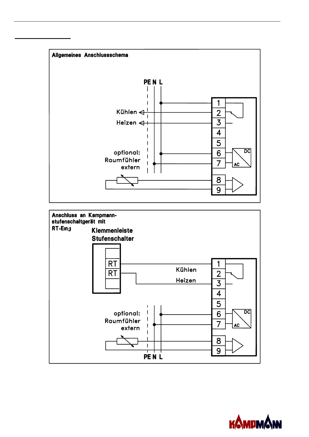
11. Anschlußbilder
Uhrenthermosta
t
Typ: 196000030056
Uhrenthermosta
t
Typ: 196000030056
Änderungen vorbehalten
30056/146910
30056/146910