EasyManua.ls Logo

Kampmann 30056 - Frost Protection; Off; 3 Clock; Time Setting

Kampmann 30056
Print Icon
To Next Page IconTo Next Page
To Next Page IconTo Next Page
To Previous Page IconTo Previous Page
To Previous Page IconTo Previous Page
Loading...
clock thermostat, type 30056/146910
Page 13
2.3. Frost protection
The frost protection temperature can be set between 5°C and 15°C. This temperature step
can be polled by pressing both keys + and – at the same time. The frost protection cannot be
reached in the cooling mode. The setback relay is not controlled.
2.4. Off
If you press and + at the same time the thermostat can be switched off. On the right part
of the display there isn’t any step indicator now. The thermostat continues measuring the
actual temperature, however, the relay isn’t controlled any longer.
3. Clock
The clock is a seven-day-timer with approx. 4 hours battery reserve power. It offers 16
programme positions by means of which you can programme 112 switching points.
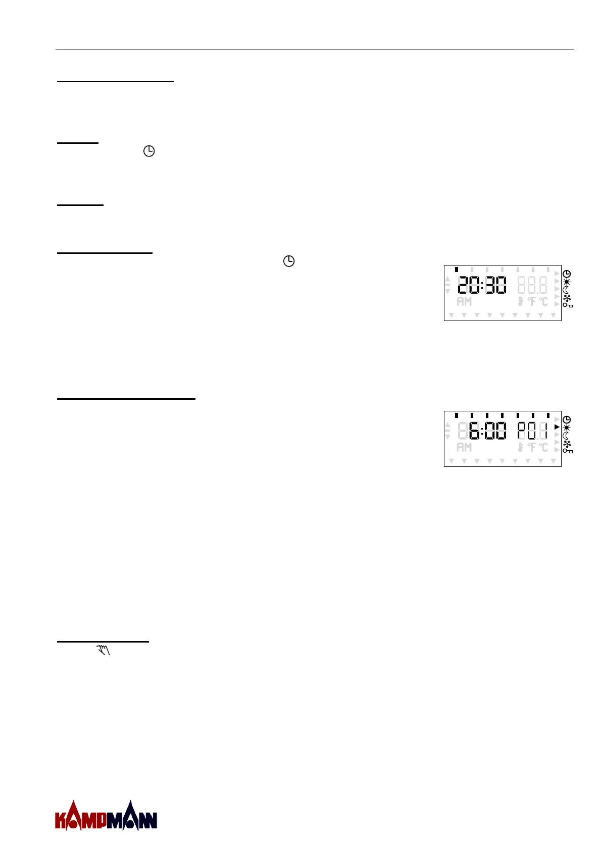
3.1. Time setting
The time can be set after the key
has been pressed for
3 seconds or after a new start following a reset. Each flashing
value can be changed with + and — keys. You can reach the next
setting point with „SET“ (hours -> minutes -> year –> month ->
day). As soon as you confirm the minutes with „SET“ the timer is
started to the second. After confirming the day the thermostat
goes back to the operating mode out of which the menu „time
setting“ was polled. The timer switched automatically between
summer- and wintertime.
MO DI MI DO FR SA SO
3.2. Timer programming
The timer programme can be entered by a short pressing of
„PROG“. The display shows programme position (P01-P16),
prevailing time and the days, at which the corresponding
temperature step (comfort step, setback step or frost protection,
indicator at the right side) is valid. The prevailing flashing value
can be changed with + and — . The next menu points can be
reached with „SET“ (programme position -> time -> days ->
temperature step). By pressing „PROG“ when the programme
position number is flashing the thermostat goes back to the mode,
out of which the menu (setting of time programme) was polled.
Ineffective programme positions are marked by ––:–– instead of
showing the time.
MO DI MI DO FR SA SO
Works standard setting is as follows:
MON – SUN: from 6:00 a.m. comfort temperature
MON – FRI: from 10.00 p.m. temp. setback
SAT – SUN: from 11.00 p.m. temp. setback
3.3. Manual-Key
The -key enables the user to change the present temperature in the automatic mode. The
selected temperature step is shown with the indicators at the right part of the display. This
function is cleared with the next programme position.