EasyManua.ls Logo

Kärcher 570 - Circuit Diagrams

Kärcher 570
24 pages
Print Icon
To Next Page IconTo Next Page
To Next Page IconTo Next Page
To Previous Page IconTo Previous Page
To Previous Page IconTo Previous Page
Loading...
Karcher
570
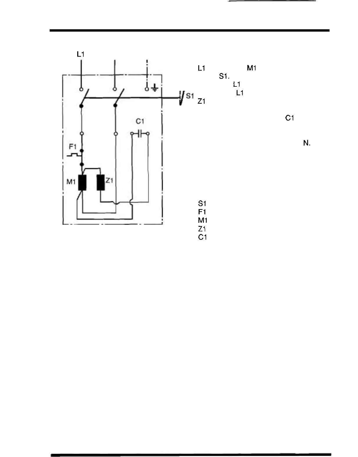
Electrical connection
1.
Electrical connection
L1
N
PE
The electrical voltage is connected from
L1 to the motor MI by way of the motor
switch
S1.
The phase L1 is fed by way of the thermal
overloadtrip
L1 to the main auxiliary winding
Z1
of the motor.
The capacitor is connected between the
main and auxiliary windings
C1
.
A
lead from the main winding of the motor
leads back to the neutral terminal
N.
2.
Circuit diagram
Legend
S1 Motor switch
F1 Thermo contact
M1 Motor
Z1
Auxiliary winding
C1 Capacitor

Related product manuals