EasyManua.ls Logo

Kärcher 570 - Schematic Arrangement; Operation with Suction Feed; Operation with Detergent

Kärcher 570
24 pages
Print Icon
To Next Page IconTo Next Page
To Next Page IconTo Next Page
To Previous Page IconTo Previous Page
To Previous Page IconTo Previous Page
Loading...
Kiircher
570
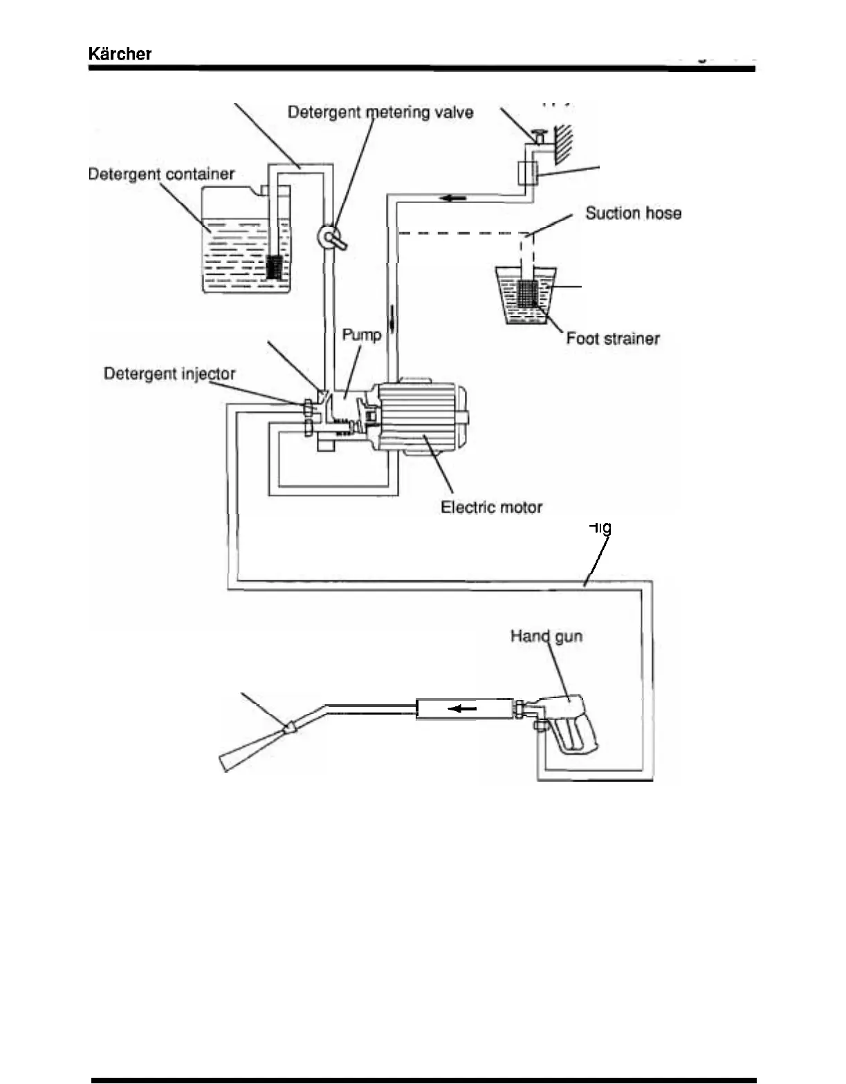
Schematic arranaement
Detergent suction hose
Water supply connection
Non return valve
------
---
-
--
Water container
Pressure and flow control valve
Hi h pressure hose
P
2
-
way nozzle
C
1.
Operation with mains water feed
The water from the main connection flows
through the non
-
return valve to the pump
3.
Operation with detergent
and, when the motor is switched on, the
pump delivers water under high pressure
When the2
-
way nozzle isswitchedtofan jet,
through the high pressure hose and hand
detergent is drawn by the injector through
gun to the 2
-
way nozzle.
the detergent suction hose and is mixed with
the water delivered by the pump. On the
2.
Operation with suction feed
Karcher
570
cleaner, the amount of deter
-
gent fed can be adjusted
by
means of a
When the motor is switched on, the pump
meterin
g
valve.
draws water from the water tank or contai
-
ner, through the foot strainer and delivers it
at high pressure through the high
-
pressure
hose and hand gun to the 2
-
way nozzle.

Related product manuals