EasyManua.ls Logo

kayse LS30 - Page 8

kayse LS30
32 pages
Print Icon
To Next Page IconTo Next Page
To Next Page IconTo Next Page
To Previous Page IconTo Previous Page
To Previous Page IconTo Previous Page
Loading...
LS30 CONTROLLER INSTALLATION AND OPERATING GUIDE
8
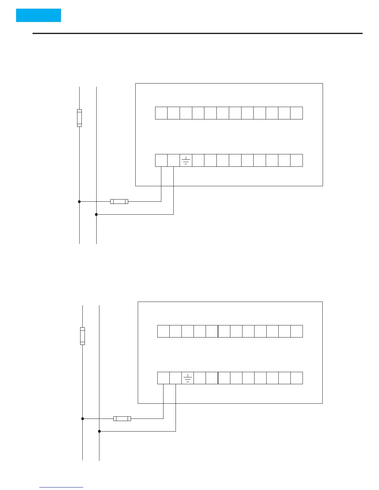
12 11
10 9 8
7
3
2 1
+ - 21
20 19 15
14
1318
17
16
+ -
(Fuse
According
to General
Load)
3 - 6A
24 VDC
12 11
10 9 8
7
3
2 1
L N
21
20 19 15
14
1318
17
16
L N
3 - 6A
220 VAC
(Fuse
According
to General
Load)