EasyManua.ls Logo

Keithley 2611B - Power Measurements

Keithley 2611B
864 pages
Print Icon
To Next Page IconTo Next Page
To Next Page IconTo Next Page
To Previous Page IconTo Previous Page
To Previous Page IconTo Previous Page
Loading...
Section
2: General operation Series 2600B System SourceMeter® Instrument
Reference Manual
2-42 2600BS-901-01 Rev. B / May 2013
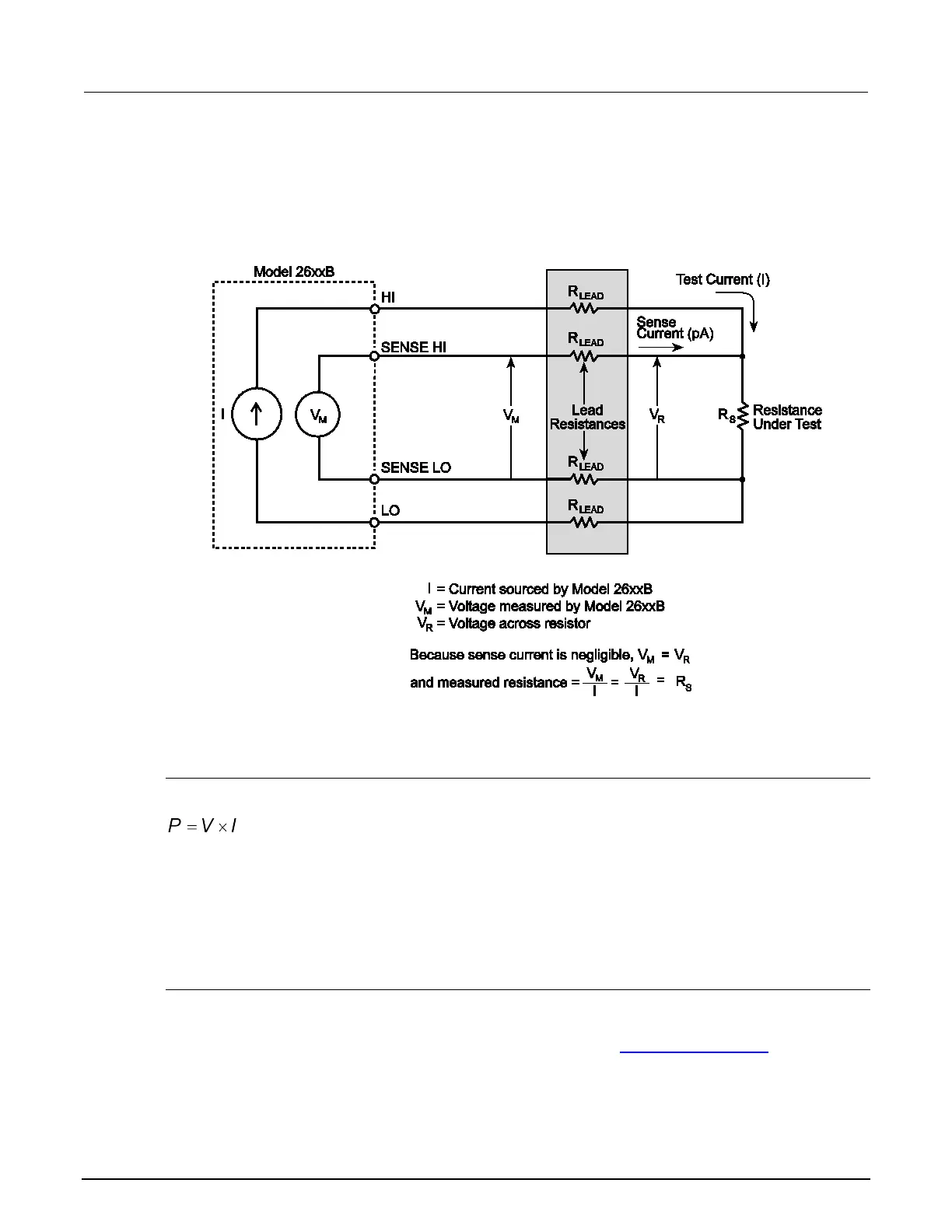
The 4-wire sensing method, as shown in the following figure (4-wire resistance sensing), minimizes or
eliminates the effects of lead resistance by measuring the voltage across the resistor under test with
a second set of test leads. Because of the high input impedance of the voltmeter, the current through
the sense leads is negligible, and the measured voltage is essentially the same as the voltage across
the resistor under test.
Figure 13: 4-wire resistance sensing
Power measurements
Power calculations
Power readings are calculated from the measured current and voltage as follows:
Where:
P is the calculated power
V is the measured voltage
I is the measured current
Basic power measurement procedure
If you need to customize the MODE key's standard watt-meter configuration, perform the following
steps to perform power measurements. The following procedure assumes that the Series 2600B is
already connected to the device under test (DUT) as explained in DUT test connections (on page
2-
48).

Table of Contents

Other manuals for Keithley 2611B

Related product manuals