EasyManua.ls Logo

Kenwood TR-2600A - Data Transmission; Dcs Operation

Kenwood TR-2600A
53 pages
Print Icon
To Next Page IconTo Next Page
To Next Page IconTo Next Page
To Previous Page IconTo Previous Page
To Previous Page IconTo Previous Page
Loading...
TR-2600A/E
CIRCUIT
DESCRIPTION
ARIO
processor
a
PIO
ATOO
ic2
a
QUTPUT
Fig.
11
NJM4558M
Equivalent
circuit
(DCL
unit
1C1}
DCS
operation
|
1
H
1
'
ATX
eee
et
“it
ee
DAT.
2
MSK
modulated
wave
4
1
4
'
i
I
l
t
'
i
‘i
[
eS
RS
ES
AS
SS
1C1t
|
=e
Micro-
=e
mand
<——siT
(46ITx
5)
(4B1T
x6)
ae
(4BIT
x12)
Fig.
10
Data
structure
Rating
fF
Item
Symbol
Condition
[-———_,—,;———|_
Unit
Min
St.
|
Max.
Input
offset
voltage
|
VIO
|
As
S$
10ka
—~
|=
|
60
[input
offset
current
|
lo
“{
—_|-
[
200
|
na
ee
—+-—
et
{Input
Bias
current
tf
-
-~
|
500
nA
|
Voltage
gain
Gv.
|
RL
2
2k,
Vo=#10V
|
20000
|
|
3
MAX
output
voltage)
VOM_|
RL
210k
Ts
[-[-
|
v
{n-phase
input
VICM
+12
-
-
Vv
voitage
range
lp
ehass
eee:
CMR
|
Rs
$10k2
70
|-
|}
|
4B
elimination
|
Power
source
<
=a
=
regulation
eliminate
ave
Bes
1Ohs
180.)
HVIN
Power
consumption
PT
-
|
170
mw
Table
10
NJM4558M
Electrical
characteristic
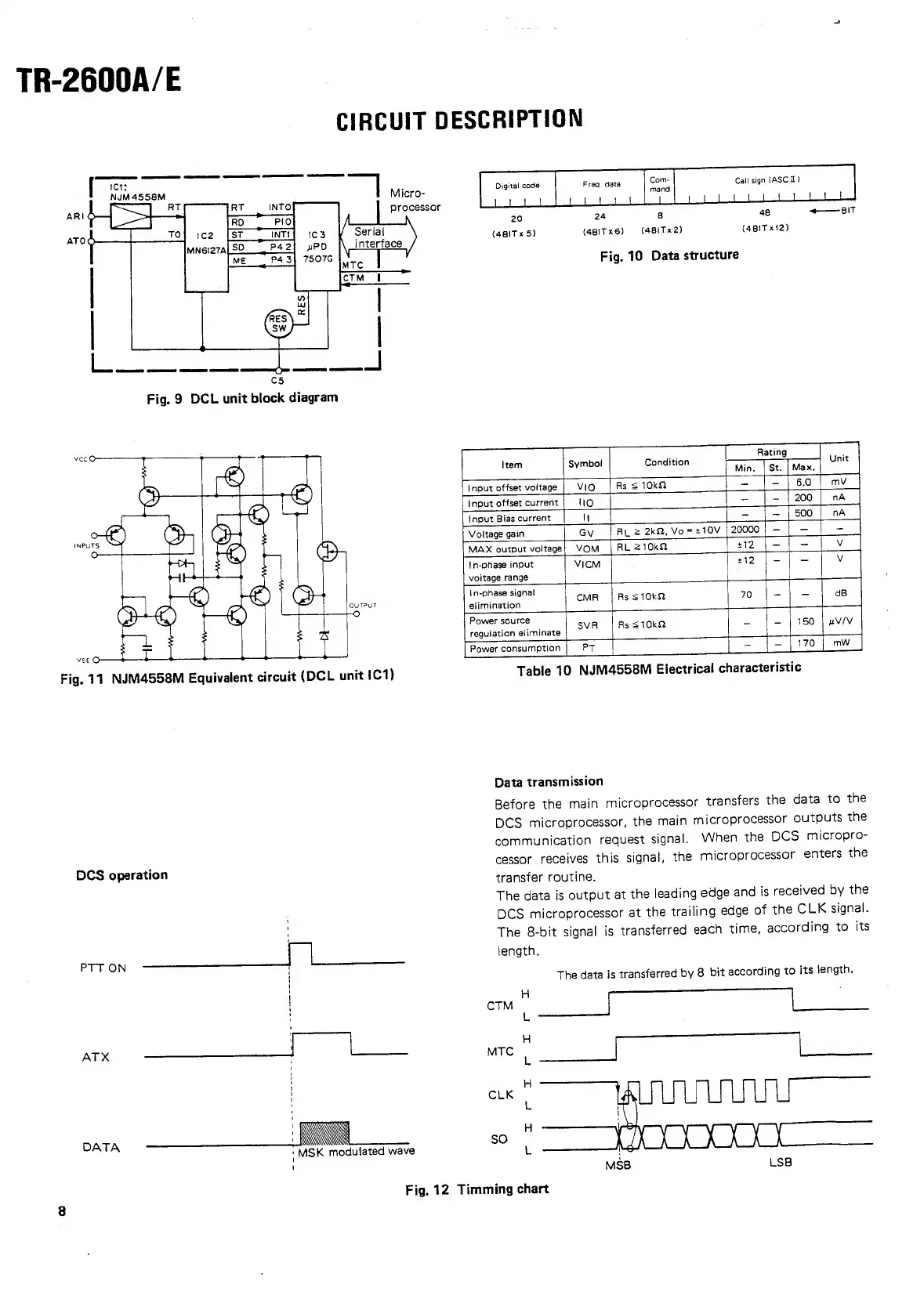
Data
transmission
Before
the
main
microprocessor
transfers
the
data
to
the
DCS
microprocessor,
the
main
microprocessor
outputs
the
communication
request
signal.
When
the
DCS
micropro-
cessor
receives
this
signal,
the
microprocessor
enters
the
transfer
routine.
The
data
is
output
at
the
leading
edge
and
is
received
by
the
DCS
microprocessor
at
the
trailing
edge
of
the
CLK
signal.
The
8-bit
signal
is
transferred
each
time,
according
to
its
length.
The
data
is
transferred
by
8
bit
according
to
its
length.
CTM
MTC
CLK
so
corr
rrrtr
et
MSB
LSB
Fig.
12
Timming
chart

Related product manuals