EasyManua.ls Logo

Kinder Concept Series - Preparation of the Fire Opening

Default Icon
31 pages
Print Icon
To Next Page IconTo Next Page
To Next Page IconTo Next Page
To Previous Page IconTo Previous Page
To Previous Page IconTo Previous Page
Loading...
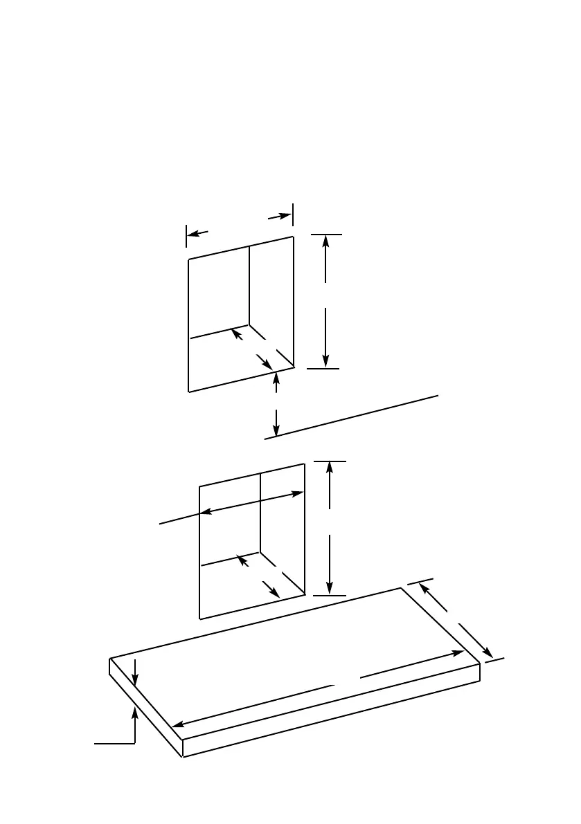
2.3 PREPARATION OF THE FIRE OPENING
If installing the product into a hole in the wall type installation, create an opening
as shown in Fig. 4 below. If installing into a conventional opening with a hearth
panel, create an opening as shown in Fig. 5 below.
Fig. 4 - Hole in the Wall Installations
Fig. 5 - Conventional Installations
Mi
n
mu
m
2
2
5
mm
See F
ig.
2
on page 7
Min. 550mm
Max. 570mm
S
ee
F
i
g.
2
Se
e Fig 2
on page 7
Min. 550mm
Max. 570mm
S
e
e F
ig 2
50mm
300mm
Minimum
760mm Minimum
11