EasyManua.ls Logo

KitchenAid KEBS107SSS03 - Oven Door Parts

KitchenAid KEBS107SSS03
7 pages
Print Icon
To Next Page IconTo Next Page
To Next Page IconTo Next Page
To Previous Page IconTo Previous Page
To Previous Page IconTo Previous Page
Loading...
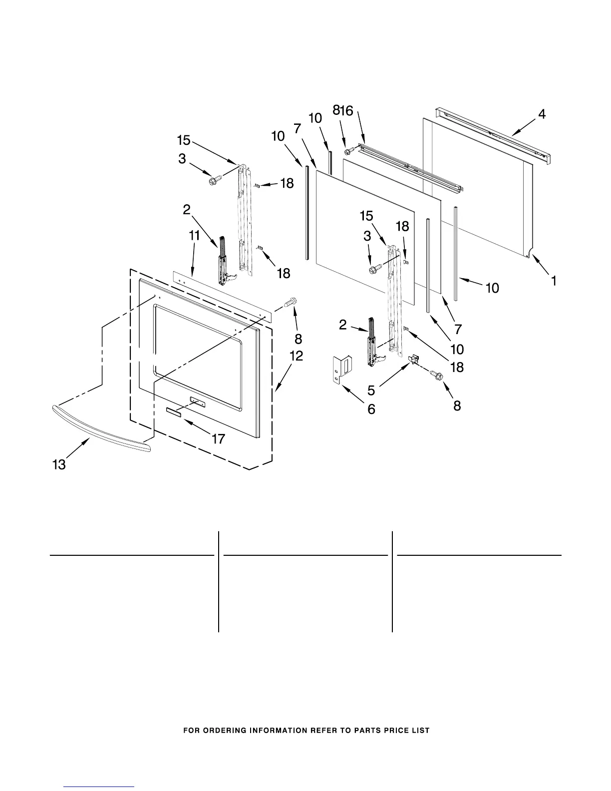
OVEN DOOR PARTS
4
For Models:KEBS107SSS03
(Stainless)
W10250495
Illus. Part
No. No. DESCRIPTION
Illus. Part
No. No. DESCRIPTION
Illus. Part
No. No. DESCRIPTION
1
8303737BL
Door Liner
2
W10174285
Hinge, Door (2)
3 3196183 Screw
4
8304581BL
Vent, Door Top
5 Bracket, Door
8304377 Right
8304378 Left
6 Cover, Hinge
W10137044
Right
W10137043
Left
7 8303731 Glass, Inner
8 4449743 Screw
10 8304523 Seal
11
8304360BL
Bracket, Handle
12
W10237350
Door Glass, Assy
Includes #17
13
8303774SS
Door Handle
15
8303745BL
Frame, Door Side
16 8303746 Bracket, Top Door
17
8304603SS
Badge
18 8304522 Bumper, Glass

Related product manuals