EasyManua.ls Logo

KitchenAid KFGC558JYP - Page 39

KitchenAid KFGC558JYP
64 pages
Print Icon
To Next Page IconTo Next Page
To Next Page IconTo Next Page
To Previous Page IconTo Previous Page
To Previous Page IconTo Previous Page
Loading...
39
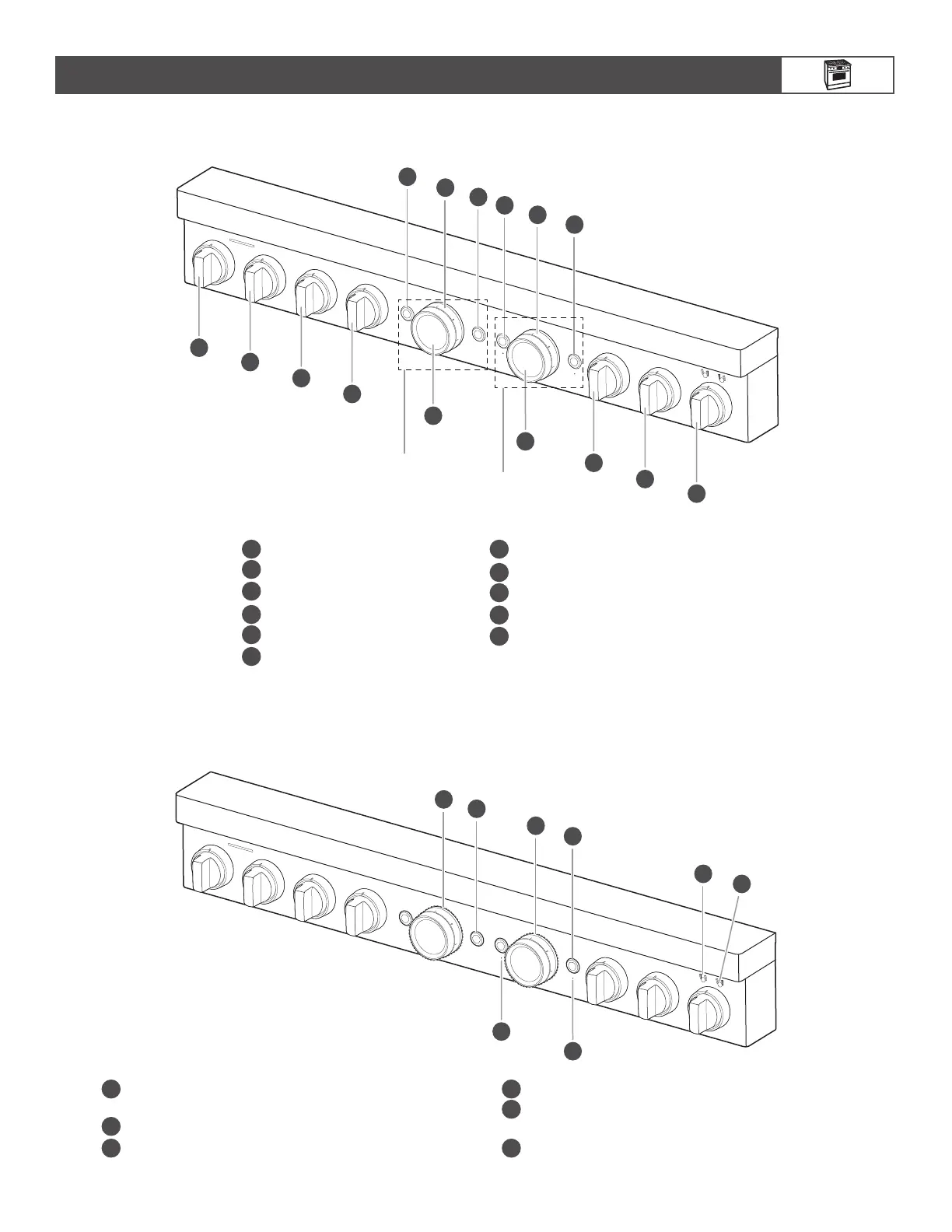
Boutons de la table de cuisson
E
H
E
H
G
A
B
C
D
F
G
F
I
J
K
Commande
la cavité
de gauche
Commande
la cavité
de droite
A
Bouton arrière gauche
B
Bouton avant gauche
C
Bouton arrière central
D
Bouton avant central
E
Bouton de lumière du four
F
Bouton de température
G
Bouton de mode
H
Bouton de mise en marche du four
I
Bouton arrière droit
J
Bouton avant droit
K
Bouton de la plaque à frire
48PO (121,9CM)
REMARQUE: La conguration, les fonctions et les commandes de la table de cuisson peuvent être différentes.
PIÈCES ET CARACTÉRISTIQUES
Témoins lumineux
A
Témoin lumineux du bouton de température
etde mode
B
Témoin Wi-Fi
C
Témoin lumineux du bouton de mise en marche
D
Témoin de préchauffage de la plaque à frire
E
Témoin lumineux d’allumage de la plaque
àfrire de la table de cuisson
F
Témoin de commande à distance
C
C
D
E
A
A
B
F

Related product manuals