EasyManua.ls Logo

Kohler 14EKOZD - Page 54

Kohler 14EKOZD
84 pages
Print Icon
To Next Page IconTo Next Page
To Next Page IconTo Next Page
To Previous Page IconTo Previous Page
To Previous Page IconTo Previous Page
Loading...
TP-7045 3/18c54 Section 8 Reconnection
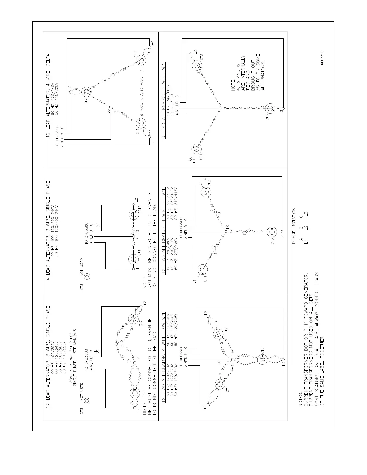
Figure 8-3 Generator Reconnection (ADV-5875F-U)

Table of Contents

Other manuals for Kohler 14EKOZD

Related product manuals