EasyManua.ls Logo

Kohler 20RESA - Genset Personality Profile Settings

Kohler 20RESA
72 pages
To Next Page IconTo Next Page
To Next Page IconTo Next Page
To Previous Page IconTo Previous Page
To Previous Page IconTo Previous Page
Loading...
TP-6804 12/1142 Section 3 RDC2 Controller Operation
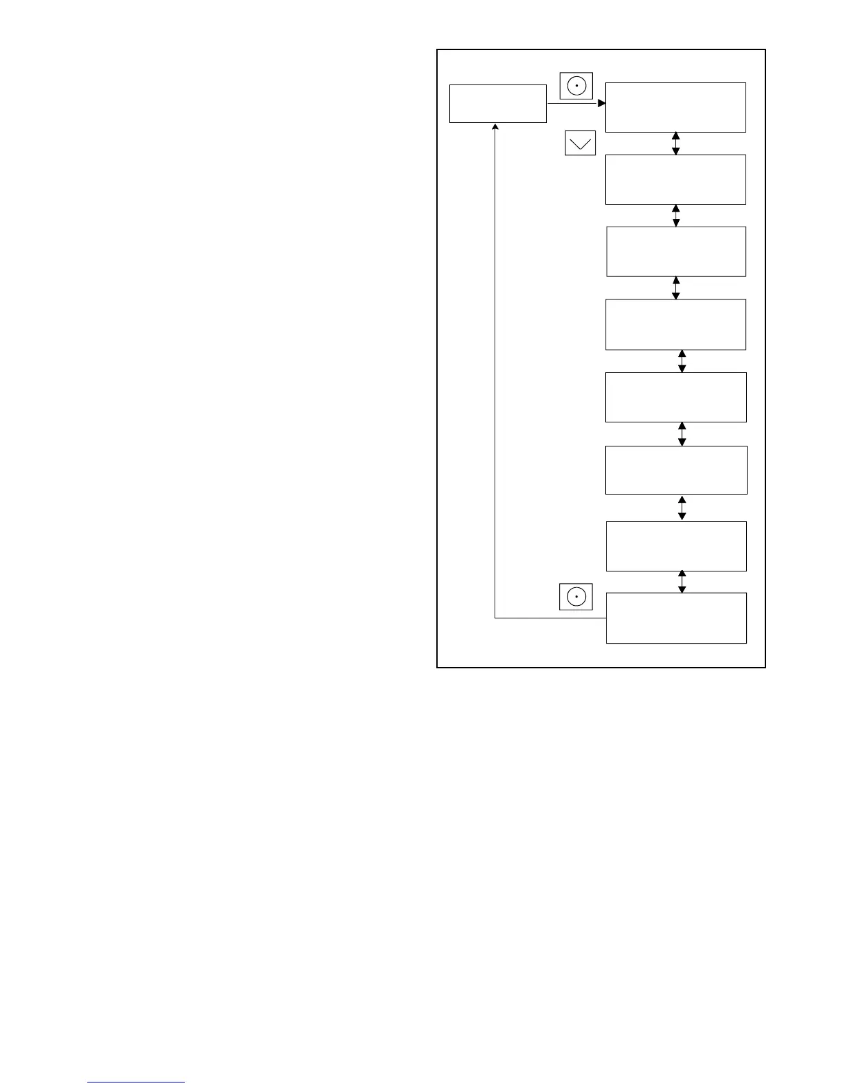
3.16 ATS Configuration Menu
Note: The ATS Configuration menu appears only if a
Model RXT transfer switch is connected.
Use the ATS Configuration submenu to check the Model
RXT transfer switch system settings and time delays,
and change the settings, if necessary.
Changing ATS Configuration Settings
To enable editing, press the select button. The value
flashes to indicate that it can be changed. Press the up
and down arrow buttons to change the value. Press the
Select button to save the value shown.
Use the up and down arrow buttons to move to the next
value to be changed. Repeat the adjustment process
until all values are correct.
Press the down arrow until Return is displayed. Press
the select button to return to the main menu.
tp6810
Normal Freq:
12.3 Hz
<---- Return
Normal Voltage:
12345.6 V
ATS - - - ->
Configuration
Emerg. Freq:
12.3 Hz
Emerg. Voltage:
12345.6 V
Emerg. Engine
Start: 3 sec
Transfer From
Normal:3sec
Transfer From
Emerg.: 120 sec
Figure 3-17 ATS Configuration Menu

Table of Contents

Other manuals for Kohler 20RESA

Related product manuals