EasyManua.ls Logo

Komatsu ecot3 - Machine View Illustrations; Overall Machine View

Komatsu ecot3
399 pages
Print Icon
To Next Page IconTo Next Page
To Next Page IconTo Next Page
To Previous Page IconTo Previous Page
To Previous Page IconTo Previous Page
Loading...
.
OPERATION
MACHINE VIEW ILLUSTRATIONS
MACHINE VIEW ILLUSTRATIONS
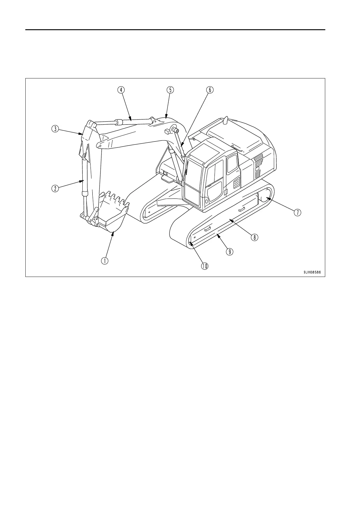
OVERALL MACHINE VIEW
(1)
(2)
(3)
(4)
(5)
Bucket
Bucket cylinder
Arm
Arm cylinder
Boom
(6)
(7)
(8)
(9)
(10)
Boom cylinder
Sprocket
Track frame
Track shoe
Idler
3 - 2

Table of Contents

Related product manuals