EasyManua.ls Logo

Kwik Lok 086A - Page 20

Kwik Lok 086A
34 pages
Print Icon
To Next Page IconTo Next Page
To Next Page IconTo Next Page
To Previous Page IconTo Previous Page
To Previous Page IconTo Previous Page
Loading...
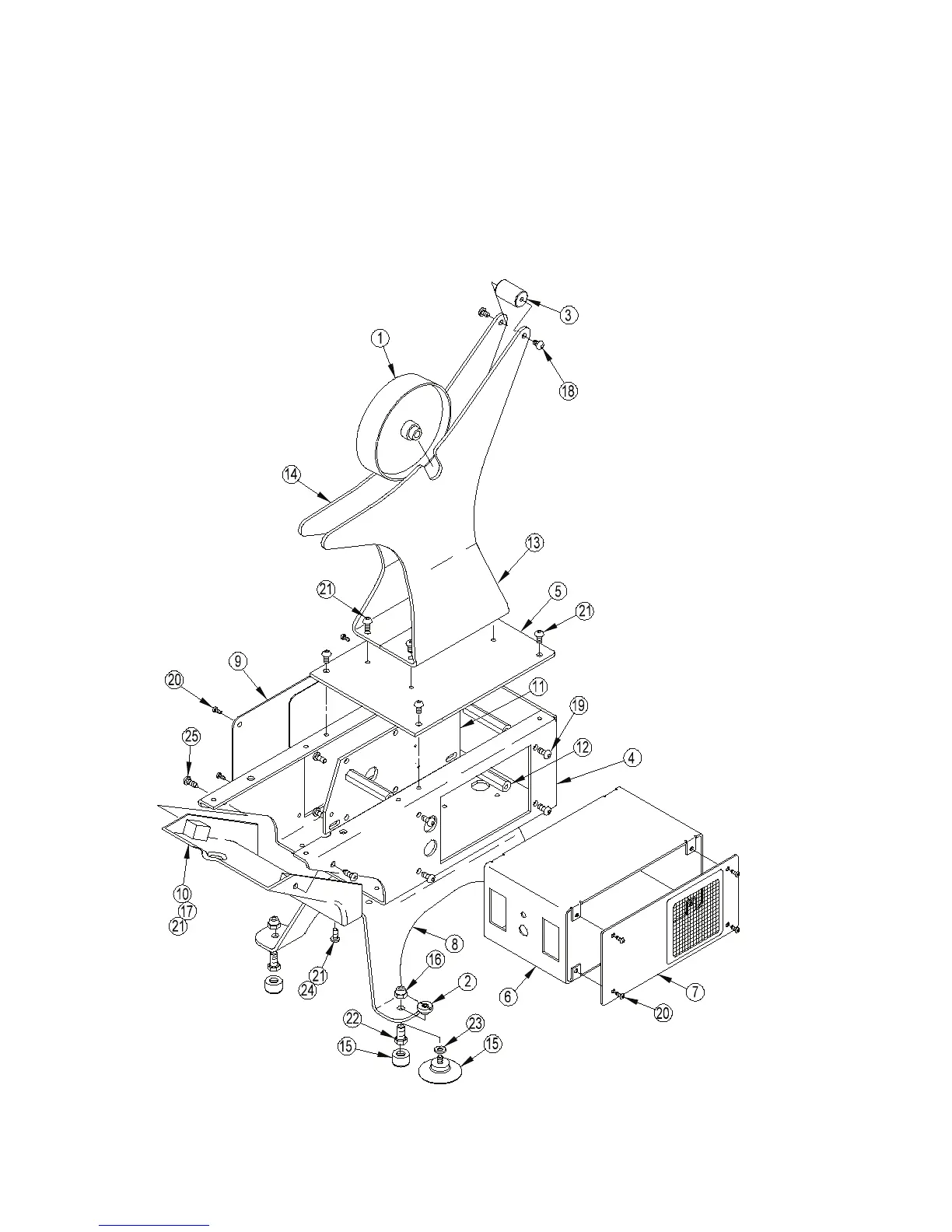
P 5.2
SECTION V
Parts Identification
PARTS COMMON - STANDARD
Figure 5.1
086A 08 08