EasyManua.ls Logo

Laars JVS - SECTION 7. Operating Instructions; 7.1 Normal Operation

Laars JVS
36 pages
Print Icon
To Next Page IconTo Next Page
To Next Page IconTo Next Page
To Previous Page IconTo Previous Page
To Previous Page IconTo Previous Page
Loading...
Mini-Therm II Hydronic Boiler
Page 21
6.3 Grounding
WARNING
The boiler must be electrically grounded in
accordance with the requirements of the authority
having jurisdiction or, in the absence of such
requirements, with the latest edition of the National
Electrical Code, ANSI/NFPA 70, in the U.S. and
with latest edition of CSA C22.1 Canadian Electrical
Code, Part 1, in Canada. Do not rely on the gas or
water piping to ground the metal parts of the boiler.
Plastic pipe or dielectric unions may isolate the
boiler electrically. Service and maintenance
personnel who work on or around the boiler may be
standing on wet floors and could be electrocuted by
an ungrounded boiler.
AVERTISSEMENT
La chaudière doit être mise à la terre selon les
exigences officielles locales ou, en l’absence de
toute instruction officelle, l’installation doit être
conforme au National Electrical Code, ANSI/NFPA
70, aux États-Unis et avec la dernière édition du
Code électrique canadien CSA C22.1, Partie 1, au
Canada. N’utilisez pas la tuyauterie de gaz ou
d’eau pour mettre à la terre les parties métalliques
de la chaudière. Les unions diélectriques ou avec
tuyau en plastique peuvent isoler la chaudière
électriquement. Les membres du personnel de
service et d’entretien qui travaillent sur et autour de
la chaudiére peuvent marcher dur des planchers
mouillés et pourraient se faire électrocuter par une
chaudière non mise à la terre.
6.4 Auxiliary Devices
6.4.1 Flow Switch
If the system includes a flow switch, it should be
wired in series with the high-limit switch. The boiler
will not fire unless the pump is running and the flow
switch is closed.
Field installed safety devices and operating
controllers, such as a valve end switch, draft switches,
relays, timers, and outdoor temperature reset devices,
can be connected to the boiler through the wall
thermostat circuit. Do not exceed a draw of 30VA on
the transformer secondary.
6.4.2 Heat Anticipator
For single zone installations, the wall thermostat
heat anticipator should be set at 0.5 amperes. For
multi-zone installations, have a qualified electrical
technician make the necessary measurements to
properly set the thermostats.
SECTION 7.
Operating Instructions
7.1 Normal Operation
The Laars Mini-Therm II JVS and JVT boilers
are capable of automatic operation based on a call for
heat at present temperatures. The boiler has an internal
safety system which allows operation in a variety of
conditions and prevents operation when certain
adverse conditions are encountered.
When the wall thermostat calls for heat and the
boiler is powered, an operating cycle is initiated. (On
continuous pilot ignition models (JVT) the pilot must
also be lit). The pump relay turns on the pump, the
damper activator rotates the damper blade to the open
position and the indicator light comes on.
On spark ignition models (JVS 50-75), if the
water temperature is below the limit setting, the
ignition module lights the pilot and checks the flame
existence. After the pilot is proven to be lit, the
ignition module opens the main gas valve and the
main burners ignite.
On 2-Stage spark ignition models (JVS 100-
225), if the water temperature is below the limit
setting, the ignition module lights the pilot and checks
the flame existence. After the pilot is proven to be lit,
the ignition module opens the main gas valve and the
main burners ignite. The main gas valve is controlled
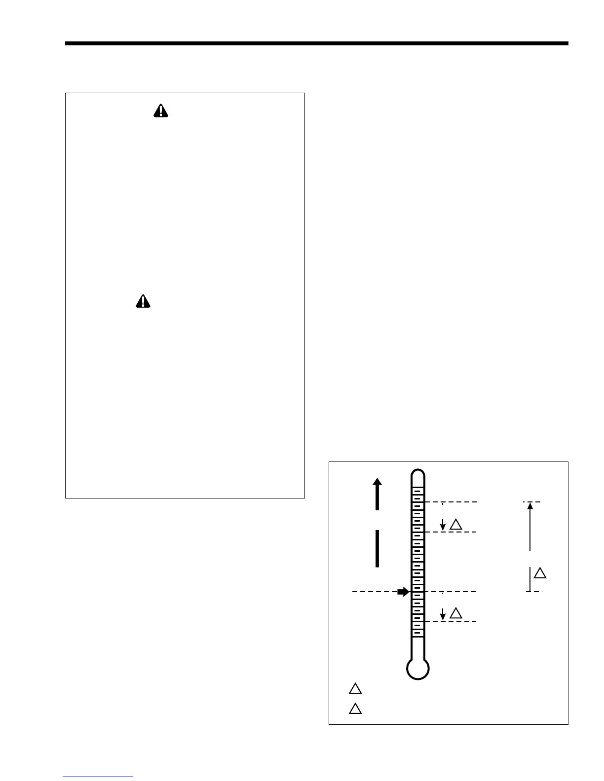
by the two-stage operating control (see Figure 11) and
will cycle between high, low and off as the load
demands.
Figure 11. L6008G Operation.
1
2
TEMPERATURE
RISE
LOW
FIRE
BREAKS R-B
MAKES R-W
ON RISE
BREAKS R-W
MAKES R-B
ON FALL
INTERSTAGE
DIFFERENTIAL
BREAKS R-B
MAKES R-W
ON RISE
BREAKS R-W
MAKES R-B
ON FALL
BOILER INLET
SETPOINT
(ADJUSTABLE,
FACTORY SET
AT 140°F)
LEFT SWITCH
DIFFERENTIAL
RIGHT SWITCH
DIFFERENTIAL
1
2
2
DIFFERENCE BETWEEN THE TEMPERATURES AT WHICH THE
TWO SWITCHES MAKE R-W. FACTORY SET AT 10°F (6.6°C)
TWO SPDT SWITCHES OPERATE IN SEQUENCE. EACH
SWITCH DIFFERENTIAL AT APPROXIMATELY 3°F (1.7°C)
HIGH
FIRE

Table of Contents

Related product manuals