EasyManua.ls Logo

Launch TLT235SB - Page 13

Launch TLT235SB
17 pages
Print Icon
To Next Page IconTo Next Page
To Next Page IconTo Next Page
To Previous Page IconTo Previous Page
To Previous Page IconTo Previous Page
Loading...
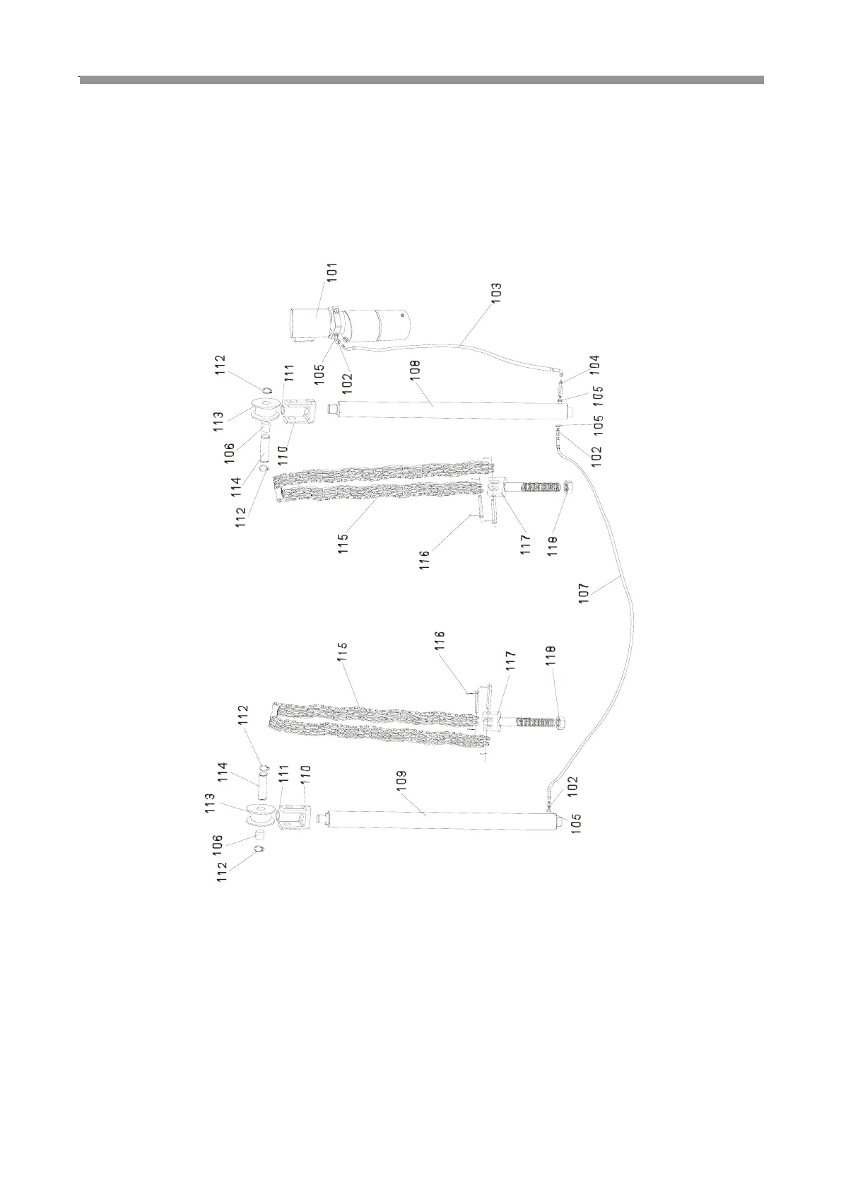
LAUNCH Installation Instruction for Economical Symmetric Floor-plate 2-post Lift
12

Related product manuals