EasyManua.ls Logo

Launch TLT235SB - Install the Floor Plate; Install the Offside Column

Launch TLT235SB
17 pages
Print Icon
To Next Page IconTo Next Page
To Next Page IconTo Next Page
To Previous Page IconTo Previous Page
To Previous Page IconTo Previous Page
Loading...
LAUNCH Installation Instruction for Economical Symmetric Floor-plate 2-post Lift
6
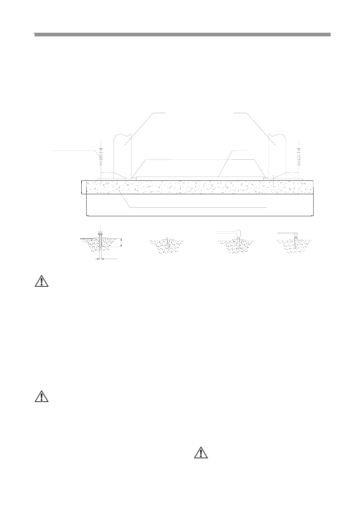
5.2.3 Install the powerside column
First raise the powerside column upper right to the location.
Align the base plate of column with the chalk line layout.
Guided by the hole on the base plate of the column, drill the
holes into the concrete slab and use five concrete anchor
bolts to fix it onto the ground. During the drilling process,
ensure no movement of the column from the chalk line
(Fig.5).
.
4000(1800wide
10sets of M18×160
250
anchor bolts
φ19
Floor plate
Column
150
Column
Foundation concrete intensity above3000PSI(2.1Kg/mm )
2
Figure 5
Notes:
Use sharp
Φ
19mm concrete drill-bit to drill the
holes. Don’t ream the hole or allow the drill to
wobble. Use proper tool to remove the dust from
the hole. The depth of the hole is the same as that
of the anchor bolt. Insert the anchor bolt and make
the washers lean against the base of the column. If
shimming is required, enough thread must be left.
When fastening the anchor bolt, only use the
(torque) wrench, and don’t use impact tool for
fastening.
Insert proper shims under the base of column if
necessary, making the column vertical.
Note: The thickness of shims shouldn’t exceed
5mm.
To get the correct and safety installation, please follow
the following installation steps.
z Wear the safety goggles.
z Use hard alloy drill-bit.
z Don’t use the drill-bit with wearing exceeding the
tolerance.
z The drill and concrete surface should be kept
perpendicular.
z Let the drill work itself. Don’t apply the extra force, and
don’t ream the hole or allow the drill to wobble.
z The drilling depth of the hole is based on the length of
anchor bolt. The distance from the bolt head to the
concrete ground should be more than twice of the bolt
diameter.
z Remove the dust from the hole.
z Gently tap the bolt into the hole, till the washer rests
against the base plate of column.
z Tighten the bolt.
5.2.4 Install the floor plate
Position the offside column at the designated chalk line
location, carefully making the base align with the chalk line
layout. Insert the floor plate into the gaps of the two columns.
Note:
Since the offside column is not fixed to the
ground, you must operate carefully to avoid the

Related product manuals