EasyManua.ls Logo

Laurus LEB12PBK - Accesorios

Default Icon
Print Icon
To Next Page IconTo Next Page
To Next Page IconTo Next Page
To Previous Page IconTo Previous Page
To Previous Page IconTo Previous Page
Loading...
ES - 21
duración de cocción, toque el botón sensor
MODE (
) hasta que vea el símbolo de
tiempo de fin de cocción en la pantalla de
tiempo. La hora del día y el símbolo de
tiempo de fin de cocción parpadearán.
Establezca el tiempo requerido utilizando
los sensores PLUS (más) y MINUS
(menos). Cuando haya completado el
ajuste, espere hasta que se muestre la hora
actual del día y hasta que el símbolo del
tiempo de finalización de la cocción
permanezca iluminado.
El horno calculará el tiempo de
funcionamiento restando el periodo de
cocción del tiempo de finalización, en el
que se dejará de funcionar. El temporizador
emitirá una alarma sonora y el símbolo de
tiempo de duración de cocción empezará a
parpadear. La alarma sonora se apagará al
tocar cualquier botón del temporizador.
El tiempo de finalización de la cocción
no puede establecerse con las
funciones del grill activadas. Si el tiempo de
finalización de cocción se estableció antes
de activar las funciones del grill, el tiempo
final de cocción se cancelará tras
seleccionar las funciones del grill.
Ajuste sonoro
Para cambiar el sonido de la señal de
aviso, con la pantalla de tiempo mostrando
la hora del día, mantenga pulsado el botón
de sensor  (
) (termostato)
durante 5 segundos hasta que se oiga
una señal sonora. Tras ello, se oirán
diferentes señales sonoras cada vez que
se pulsen los botones PLUS (más) y
MINUS (menos) situados junto al botón del
termostato. Se incluyen cinco tipos
diferentes de señales sonoras. Si
selecciona "tn0", se desactivarán todos los
sonidos, salvo los de alarma y error.
Seleccione el sonido que desee y no pulse
ningún otro botón. Transcurrido un breve
periodo de tiempo, se guardará la señal
sonora seleccionada.

Esta función se utiliza para reducir el
tiempo de precalentamiento. Puede
precalentar en las funciones Turbo,
Ventilador, Estática o Pizza. Para
precalentar, basta con pulsar el sensor
BOOST (
) (calentamiento rápido)
después de seleccionar la función de
cocción deseada.
Utilice esta función para calentar el horno
a la temperatura deseada lo más rápido
posible. Este modo no es adecuado para
cocer.

Se utiliza el bloqueo de teclas para evitar
cambios no intencionados en los ajustes
del horno.
Para activar el bloqueo de teclas, toque los
botones de sensor 
) (bloqueo
de teclas) durante 2 segundos hasta ver el
símbolo de bloqueo en la pantalla. Para
desactivar el bloqueo de teclas, toque los
botones de sensor  ) (bloqueo
de teclas) durante 2 segundos hasta que el
símbolo del bloqueo de teclas desaparezca
de la pantalla.
Cuando se selecciona el bloqueo de
teclas, solo se puede activar el botón
del sensor . El resto de botones
permanecerán bloqueados.
Bloqueo de la puerta
El bloqueo de la puerta se activará
pulsando el botón  (
)
(bloqueo de la puerta) durante 3 segundos.
Vuelva a bloquear el botón de DOOR
 (bloqueo de la puerta) (
) durante
3 segundos para desbloquear la puerta.
En la pantalla aparecerá "Lock" durante
5 segundos mientras se activa el bloqueo
pirolítico de la puerta. Si el bloqueo de la
puerta está activo, aparecerá "Lock" en la
pantalla durante 5 segundos, y la hora del
día durante 5 segundos.
El bloqueo de la puerta no puede
controlarse con la función pirolítica.
4.5. 

Limpie bien los accesorios con agua
caliente, detergente y un paño limpio suave
cuando vaya a utilizarlos por primera vez.
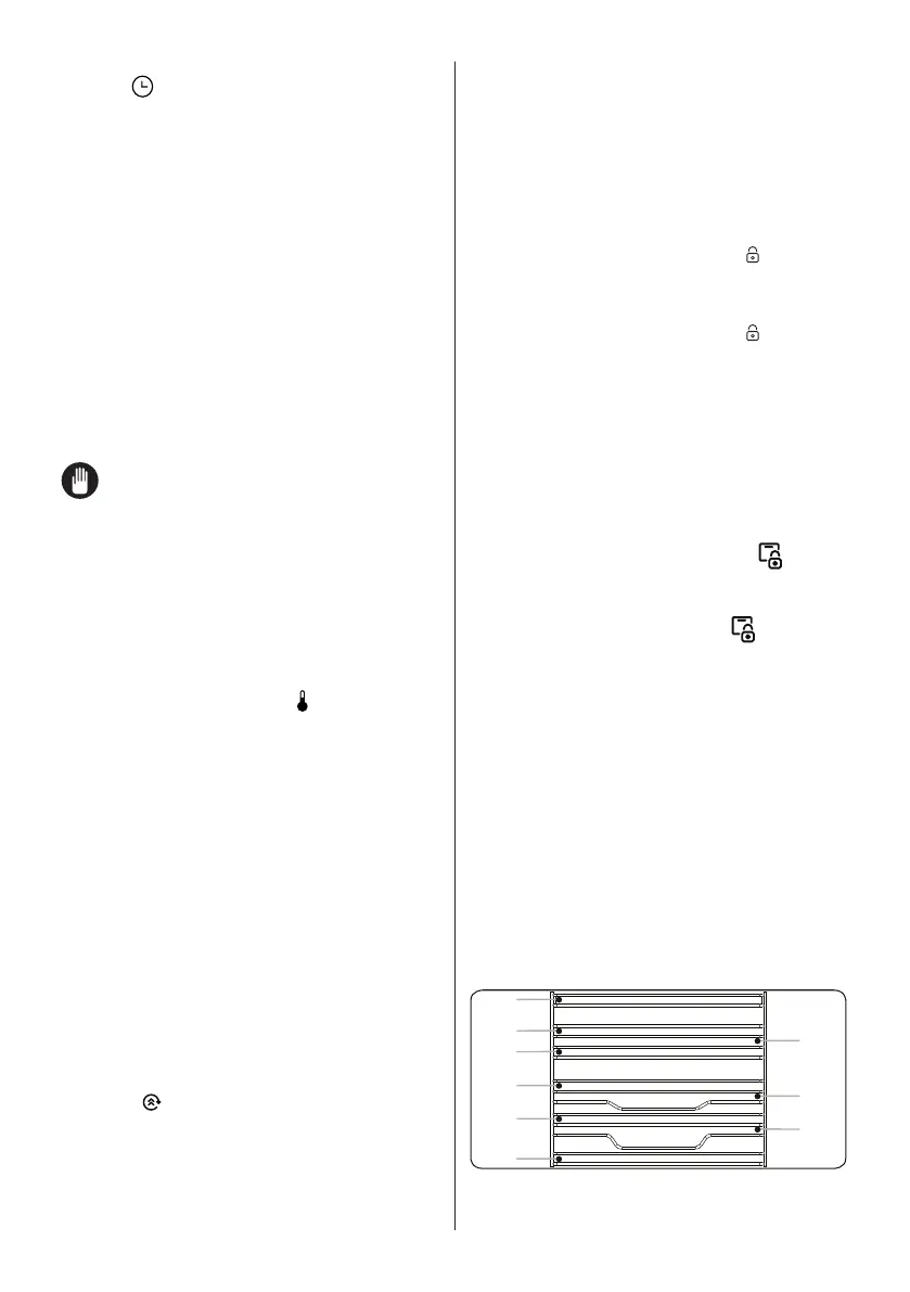
7
5
6
4
3
2
1
T2
T1
Inserte el accesorio en la posición
correcta dentro del horno.

Table of Contents

Related product manuals