EasyManua.ls Logo

Lennox CHP20-060 - Unit Components (Continued)

Lennox CHP20-060
67 pages
To Next Page IconTo Next Page
To Next Page IconTo Next Page
To Previous Page IconTo Previous Page
To Previous Page IconTo Previous Page
Loading...
Page 22
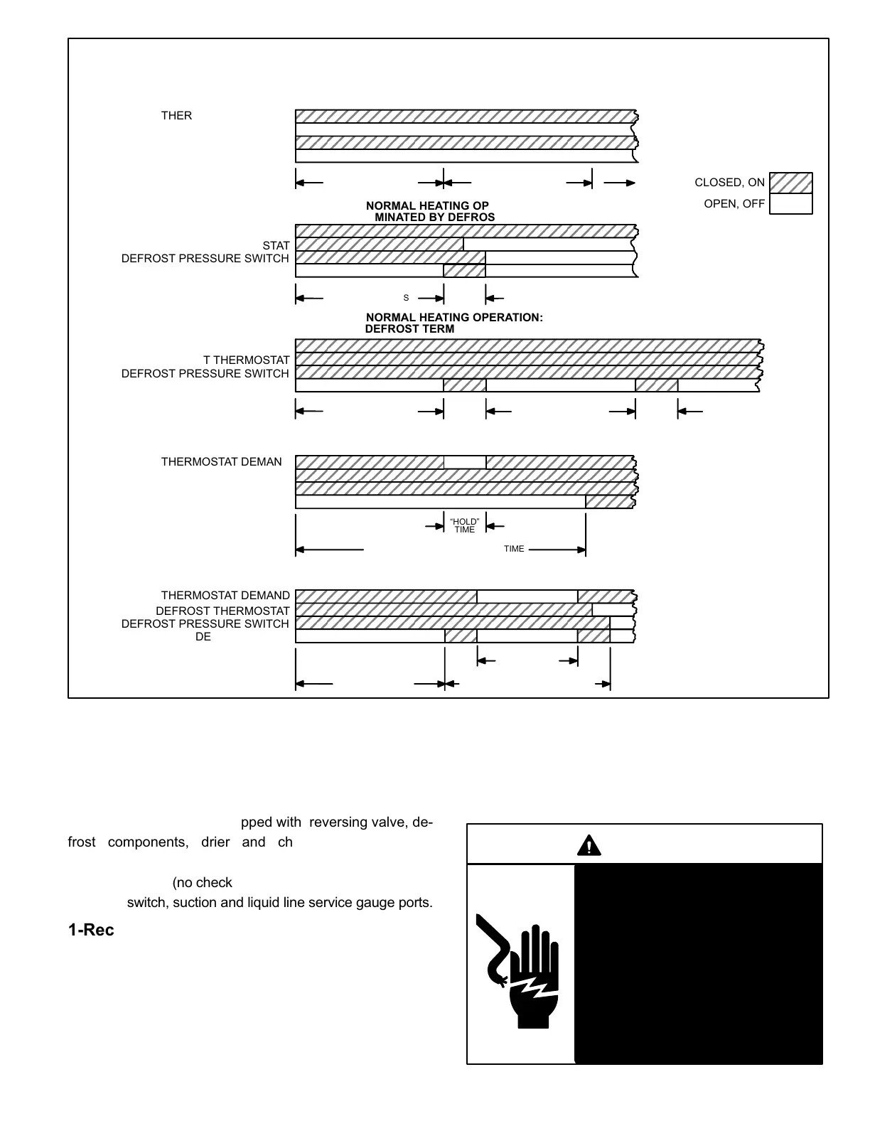
FIGURE 8
ÉÉÉÉÉÉÉÉÉÉÉÉÉÉÉÉÉ
ÉÉÉ
ÉÉÉ
CLOSED, ON
OPEN, OFF
THERMOSTAT DEMAND
DEFROST THERMOSTAT
DEFROST PRESSURE SWITCH
CHP16/20 SERIES UNITS
TYPICAL DEFROST TIMINGS
NORMAL HEATING OPERATION:
NO DEFROST (DEFROST THERMOSTAT IS OPEN)
DEFROST PERIOD
INTERRUPTED BY THERMOSTAT DEMAND: HOLD" FUNCTION
DEFROST PRESSURE SWITCH
OPEN WITHIN 14 MINUTES
ÉÉÉÉÉÉÉÉÉÉÉÉÉÉÉÉÉÉÉÉÉÉ
ÉÉÉÉÉÉÉÉÉÉÉÉÉÉÉÉÉÉÉÉÉÉ
ÉÉÉÉÉÉÉÉÉÉÉÉÉÉÉÉÉÉÉÉÉÉ
ÉÉÉ
ÉÉÉ
THERMOSTAT DEMAND
DEFROST THERMOSTAT
DEFROST PRESSURE SWITCH
NORMAL HEATING OPERATION:
DEFROST TERMINATED BY TIME
30/60/90 MINUTES 14 MIN 30/60/90 MINUTES
ÉÉÉÉÉÉÉÉÉÉÉÉÉÉÉÉÉÉÉÉÉÉ
ÉÉÉÉÉÉÉÉÉÉÉÉÉÉÉÉÉÉÉÉÉÉ
14 MIN
DEFROST RELAY
ÉÉÉÉÉÉÉÉÉÉÉÉÉÉÉÉÉ
DEFROST RELAY
30/60/90 MINUTES 30/60/90 MINUTES
ÉÉÉÉÉÉÉÉÉÉÉÉÉÉÉÉÉ
THERMOSTAT DEMAND
DEFROST THERMOSTAT
DEFROST PRESSURE SWITCH
NORMAL HEATING OPERATION:
DEFROST TERMINATED BY DEFROST PRESSURE SWITCH
DEFROST RELAY
30/60/90 MINUTES
ÉÉÉÉÉÉÉÉÉ
ÉÉÉÉÉÉÉÉÉ
ÉÉÉ
ÉÉÉÉÉÉÉÉÉÉ
ÉÉÉÉÉÉÉÉÉÉ
ÉÉÉÉÉÉÉÉÉÉÉÉÉÉÉÉÉ
ÉÉÉÉÉÉÉÉÉÉÉÉÉÉÉÉÉ
THERMOSTAT DEMAND
DEFROST THERMOSTAT
DEFROST PRESSURE SWITCH
NORMAL HEATING OPERATION:
INTERRUPTED BY THERMOSTAT DEMAND: HOLD" FUNCTION
DEFROST RELAY
30/60/90 MINUTES PLUS HOLD" TIME
ÉÉÉÉÉÉÉÉ
ÉÉÉÉÉÉÉÉ
ÉÉÉÉ
ÉÉÉÉ
ÉÉÉÉÉÉÉÉ
ÉÉÉÉÉÉÉÉ
ÉÉ
ÉÉ
ÉÉÉÉÉÉÉÉÉÉÉÉÉÉÉÉÉ
HOLD"
TIME
THERMOSTAT DEMAND
DEFROST THERMOSTAT
DEFROST PRESSURE SWITCH
DEFROST RELAY
30/60/90 MINUTES
ÉÉÉÉÉÉÉÉÉ
HOLD" TIME
14 MINUTES PLUS HOLD" TIME
ÉÉ
ÉÉ
ÉÉÉÉ
ÉÉÉÉÉÉÉÉÉÉÉÉÉÉÉ
ÉÉ
ÉÉ
ÉÉÉÉÉÉÉÉÉÉÉÉÉÉÉ
ÉÉÉÉÉÉÉÉÉÉÉÉÉÉÉ
B-Cooling Components (Figures 9 and 10)
Figures 9 and 10 show CHP16/20 heat pump units.
CHP16/20 units will be equipped with reversing valve, deĆ
frost components, drier and check/expansion valve.
CHA16 units will be equipped with a liquid line strainer and
expansion valve (no check). Common components are high
pressure switch, suction and liquid line service gauge ports.
1-Reciprocating Compressor
All CHA/CHP16-024/030 units are equipped with a reciproĆ
cating compressor. All reciprocating compressors are proĆ
tected by internal pressure relief valves for overload and inĆ
ternal crankcase heaters HR1 for proper lubrication. ComĆ
pressor B1 operates during cooling and heating demand,
and is energized by contactor K1 upon receiving thermosaĆ
tat demand. For compressor specifications see compressor
nameplate or ELECTRICAL DATA section in this manual.
DANGER
Shock hazard.
Compressor must be grounded.
Do not operate without protective
cover over terminals. Capacitors
contain high voltage. Disconnect
power before removing cover.
Discharge capacitors before serĆ
vicing unit. Disconnect power beĆ
fore servicing unit.
Can cause unsafe operation, injuĆ
ry or death.

Related product manuals