EasyManua.ls Logo

Lennox G61MPVT-36B-070 - Testing for Proper Venting and Sufficient Combustion Air

Lennox G61MPVT-36B-070
52 pages
To Next Page IconTo Next Page
To Next Page IconTo Next Page
To Previous Page IconTo Previous Page
To Previous Page IconTo Previous Page
Loading...
Page 16
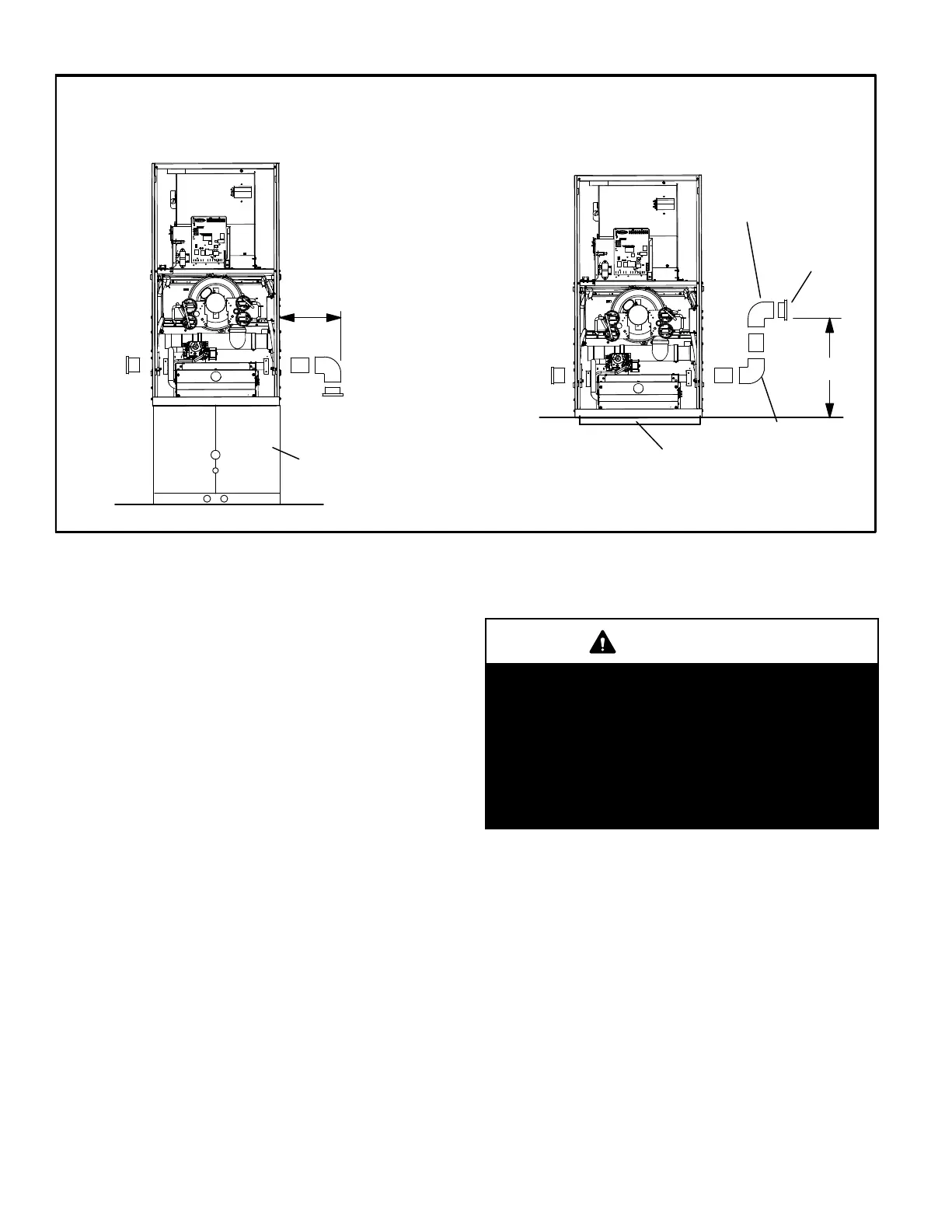
TYPICAL AIR INTAKE PIPE CONNECTIONS
DOWNFLOW NONDIRECT VENT APPLICATIONS
(RightHand Exit in Downflow Applications Shown)
FIGURE 20
PLUG
(Must be
glued in
place)
150mm Max.
PLUG
(Must be
glued in
place)
Downflow Additive Flloor Base
438mm
Downflow
Evaporator
Coil
50mm
50mm
SWEEP
ELL
50mm SWEEP ELL
INTAKE DEBRIS
SCREEN
(Provided)
INTAKE
DEBRIS
SCREEN
(Provided)
NOTE − Debris screen and sweep ell may be rotated, so that
screen may be positioned to face forward, backward or to the side.
1 − Use field−provided materials and the factory−provided
air intake screen to route the intake piping as shown in
figures 19 and 20. Maintain a minimum clearance of
76mm (3 inches) around the air intake opening. The
air intake opening (with the protective screen) should
always be directed either downward or straight out.
Use 50mm pipe and fittings only and make sure that
the air intake does not extend more than 156mm
(6inches) beyond the G61MPVT cabinet.
The air intake connector must not be located near
the floor. To avoid this complication in downflow
applications which do not include a downflow
evaporator coil, the intake air routing should be modi-
fied as shown in figure 20.
2 Use a sheet metal screw to secure the intake pipe to the
connector, if desired. A pilot indentation is provided in the
slip connector to assist in locating and starting the fasten-
er.
3 Glue the provided 50mm plug into the unused air intake
connector on the opposite side of the cabinet.
Testing for Proper Venting and Sufficient Combustion Air
(Non−Direct Vent Applications Only)
WARNING
CARBON MONOXIDE POISONING HAZARD!
Failure to follow the steps outlined below for each
appliance connected to the venting system being
placed into operation could result in carbon monox-
ide poisoning or death.
The following steps shall be followed for each ap-
pliance connected to the venting system being
placed into operation, while all other appliances con-
nected to the venting system are not in operation.
After the G61MPVT gas furnace has been started, the fol-
lowing test should be conducted to ensure proper venting
and sufficient combustion air has been provided to the
G61MPVT, as well as to other gas-fired appliances which
are separately vented. The test should be conducted
while all appliances (both in operation and those not in op-
eration) are connected to the venting system being tested.

Related product manuals