EasyManua.ls Logo

Lennox X4147 - Field Wiring Diagrams (Continued)

Lennox X4147
20 pages
Print Icon
To Next Page IconTo Next Page
To Next Page IconTo Next Page
To Previous Page IconTo Previous Page
To Previous Page IconTo Previous Page
Loading...
Page 7
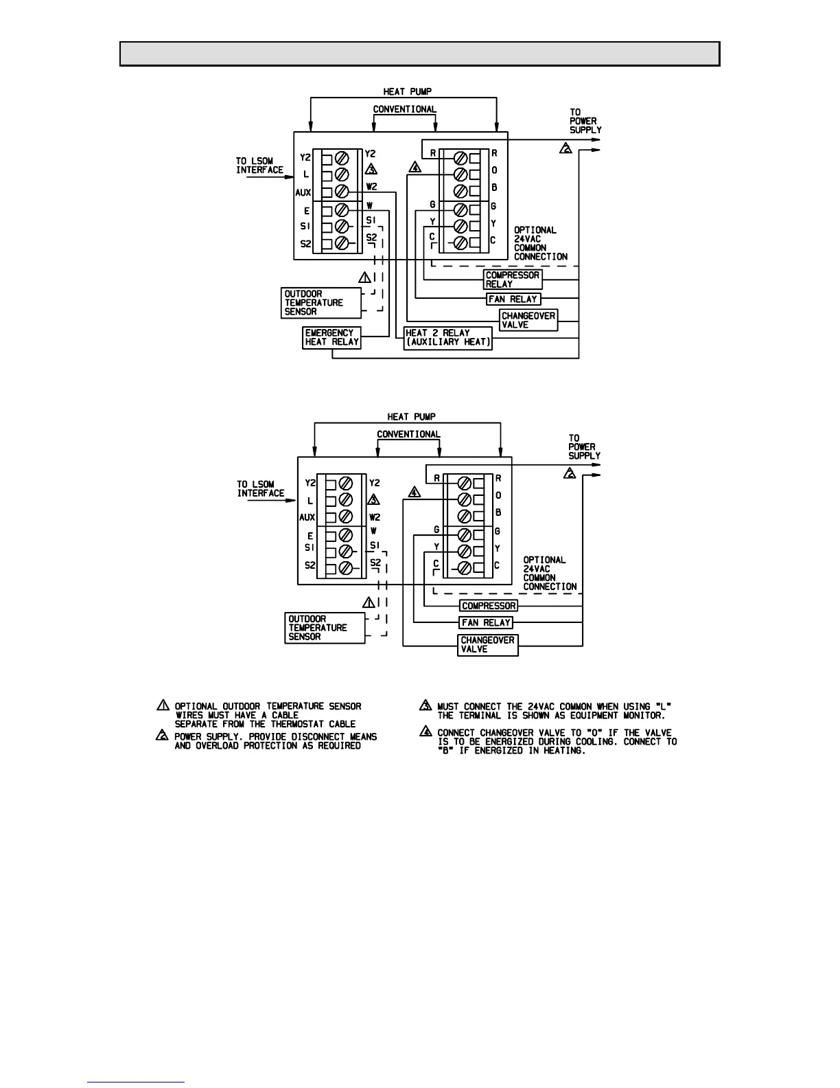
Field Wiring Diagrams (Continued)
TYPICAL SINGLE−STAGE HEAT PUMP SYSTEM WITH AUXILIARY HEAT
TYPICAL SINGLE−STAGE HEAT PUMP SYSTEM WITHOUT AUXILIARY HEAT

Other manuals for Lennox X4147

Related product manuals