EasyManua.ls Logo

Lenovo IdeaCentre B520 - Front View

Lenovo IdeaCentre B520
49 pages
Print Icon
To Next Page IconTo Next Page
To Next Page IconTo Next Page
To Previous Page IconTo Previous Page
To Previous Page IconTo Previous Page
Loading...
2
User Guide
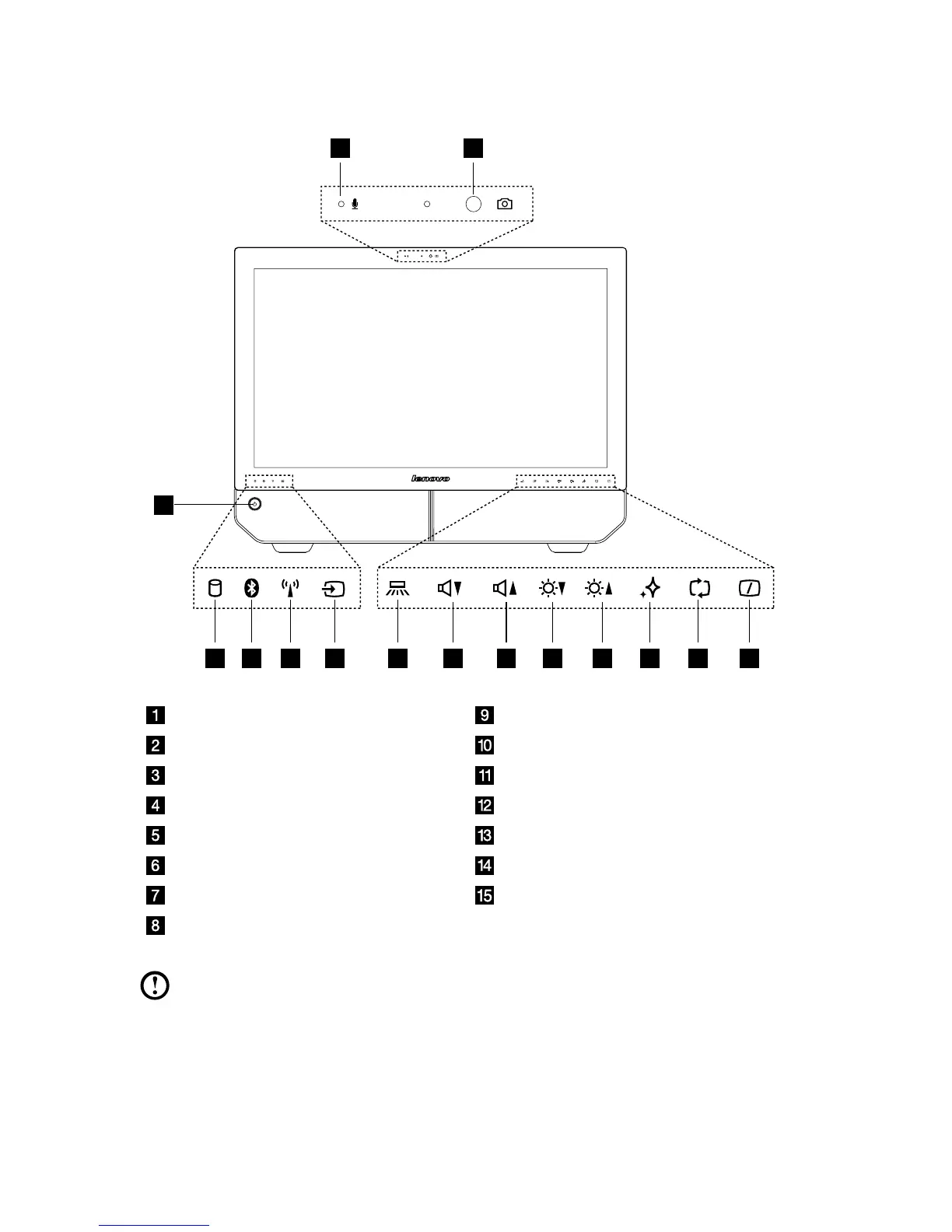
1.1 Front view
1 2
4
3
5 6 7 8 9 10 11 12 13 14 15
Built-in microphone Volume down
Camera Volume up
Power button Brightness down
Hard Disk Drive Indicator Brightness up
Bluetooth status indicator Novo Vision button
WIFI status indicator PC mode / HDMI-in / AV-in switch
AV-in / HDMI-in indicator Monitor On/Off
Indicator lights ON/OFF button
Note: The quality of video output will be affected accordingly due to the
restriction of the actual bandwidth used by users and the limitation of data
transmission speed of the video communication software.

Other manuals for Lenovo IdeaCentre B520

Related product manuals