EasyManua.ls Logo

Lenovo THINKSERVER 3797 - Storing the Full-Length-Adapter Bracket

Lenovo THINKSERVER 3797
266 pages
Print Icon
To Next Page IconTo Next Page
To Next Page IconTo Next Page
To Previous Page IconTo Previous Page
To Previous Page IconTo Previous Page
Loading...
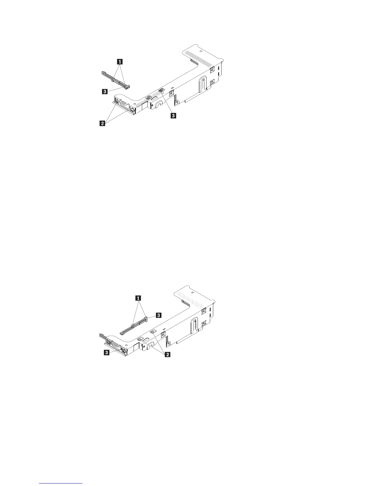
To install the full-length-adapter bracket, complete the following steps:
1. Orient the riser-card assembly as shown.
2. Remove the full-length-adapter bracket from the storage location.
a. Press the bracket tab 3 and slide the bracket toward the end of the
riser-card assembly.
b. Push the bracket out of the storage location on the riser-card assembly.
3. Align the bracket with the end of the riser-card assembly as shown.
4. Place the two hooks 1 in the two openings 2 in the end of the riser-card
assembly.
5. Press the bracket tab 3 and slide the bracket to the right until it clicks into
place.
6. Return to the adapter-installation instructions.
Storing the full-length-adapter bracket
If you are removing a full-length adapter in the upper riser-card PCI slot and will
replace it with a shorter adapter or no adapter, you must remove the
full-length-adapter bracket from the end of the riser-card assembly and return the
bracket to its storage location.
To remove and store the full-length-adapter bracket, complete the following steps:
1. Press the bracket tab 3 and slide the bracket to the left until the bracket falls
free of the riser-card assembly.
2. Align the bracket with the storage location on the riser-card assembly as shown.
3. Place the two hooks 1 in the two openings 2 in the storage location on the
riser-card assembly.
4. Press the bracket tab 3 and slide the bracket toward the
expansion-slot-opening end of the assembly until the bracket clicks into place.
5. Return to “Installing a PCI adapter in a PCI riser-card assembly” on page 171 or
“Installing a PCI riser-card assembly” on page 168, as applicable.
184 ThinkServer RD220 Types 3729, 3779, 3797, and 3798: Hardware Maintenance Manual

Table of Contents

Related product manuals