EasyManua.ls Logo

LG 600 - Texto Ezi; Cómo Se Usa el Texto Ezi

LG 600
Print Icon
To Next Page IconTo Next Page
To Next Page IconTo Next Page
To Previous Page IconTo Previous Page
To Previous Page IconTo Previous Page
Loading...
NOTA
Usted puede cambiar un idioma con . Y también puede
cambiar el modo de mayúsculas con y . Por ejemplo:
you You YOU Y.O.U y.o.u.
Cómo se usa el texto eZi
El texto eZi permite al usuario escribir fácil y rápidamente. Sencillamente
pulsando cada tecla una vez por cada carácter, podrá obtener las palabras
que quiere. Además, la palabra candidata se predice junto con otros
candidatos que encajan con las letras tecleadas hasta ese momento.
Así no necesita entrar caracteres enteros para hacer la palabra.
Cómo cambiar el modo
Este teléfono soporta tres tipos de modo de edición: modo eZi, modo
numérico y modo de letras. Para cambiar el modo, pulse sólo la tecla
, entonces podrá elegir uno de los tres modos.
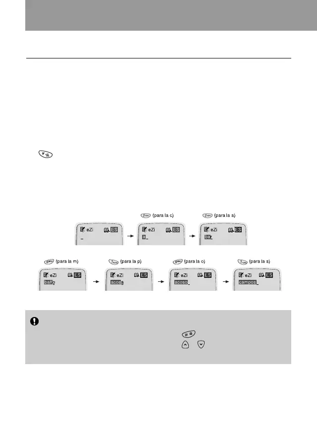
Cómo escribir en el modo eZi
Para escribir un carácter en modo eZi, basta con pulsar una sola vez la
tecla en que aparezca. Por ejemplo, en modo eZi, campos se escribe
así:
Texto eZi
26
Puesta en marcha

Table of Contents

Related product manuals