EasyManua.ls Logo

LG LB500J - Page 10

LG LB500J
37 pages
Print Icon
To Next Page IconTo Next Page
To Next Page IconTo Next Page
To Previous Page IconTo Previous Page
To Previous Page IconTo Previous Page
Loading...
- 10 -
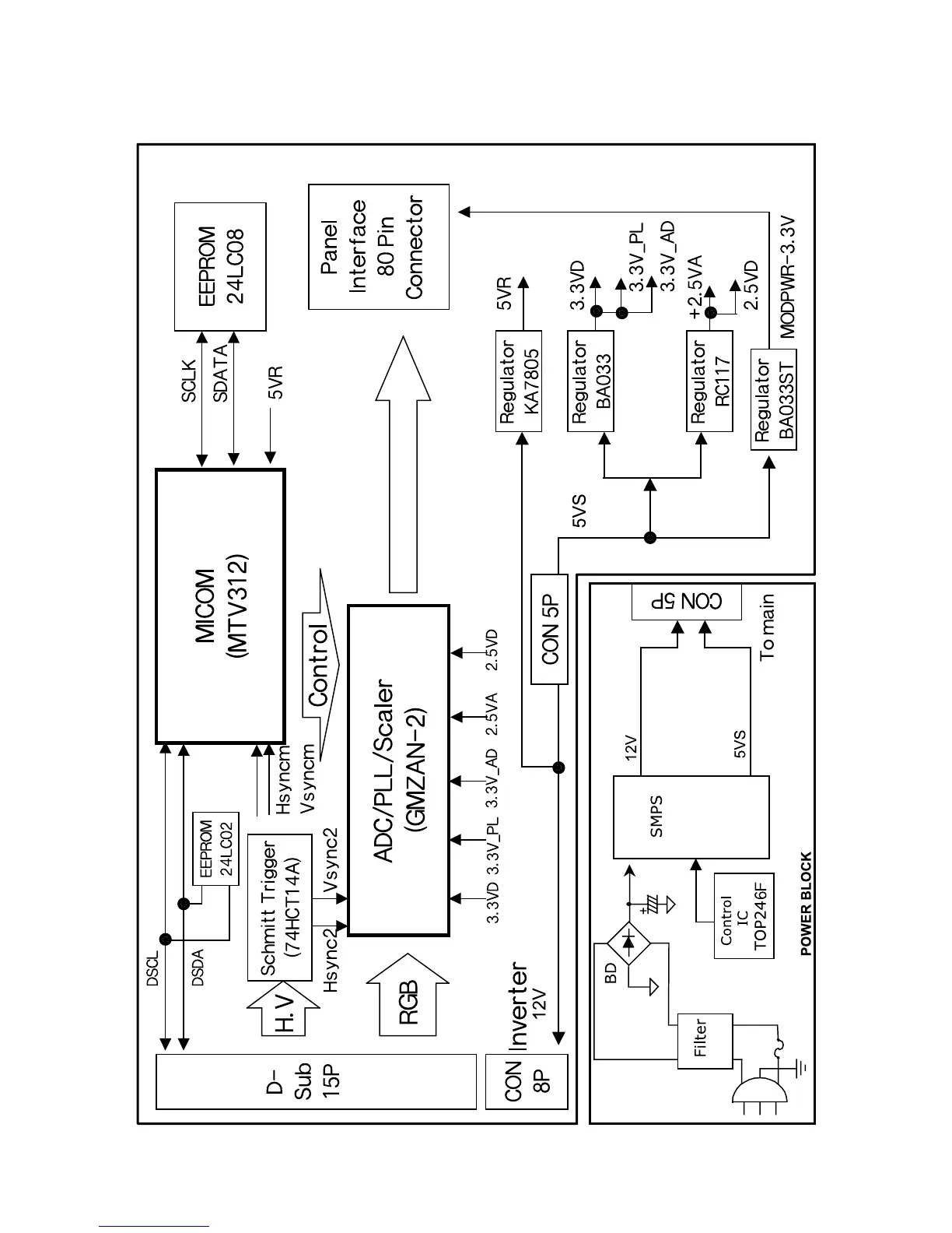
BLOCK DIAGRAM (AUO Module)

Related product manuals