EasyManua.ls Logo

Lifetime 90135 - Step 1.1: Connect Front Skids; Step 1.2: Connect Rear Skids

Lifetime 90135
34 pages
Print Icon
To Next Page IconTo Next Page
To Next Page IconTo Next Page
To Previous Page IconTo Previous Page
To Previous Page IconTo Previous Page
Loading...
14
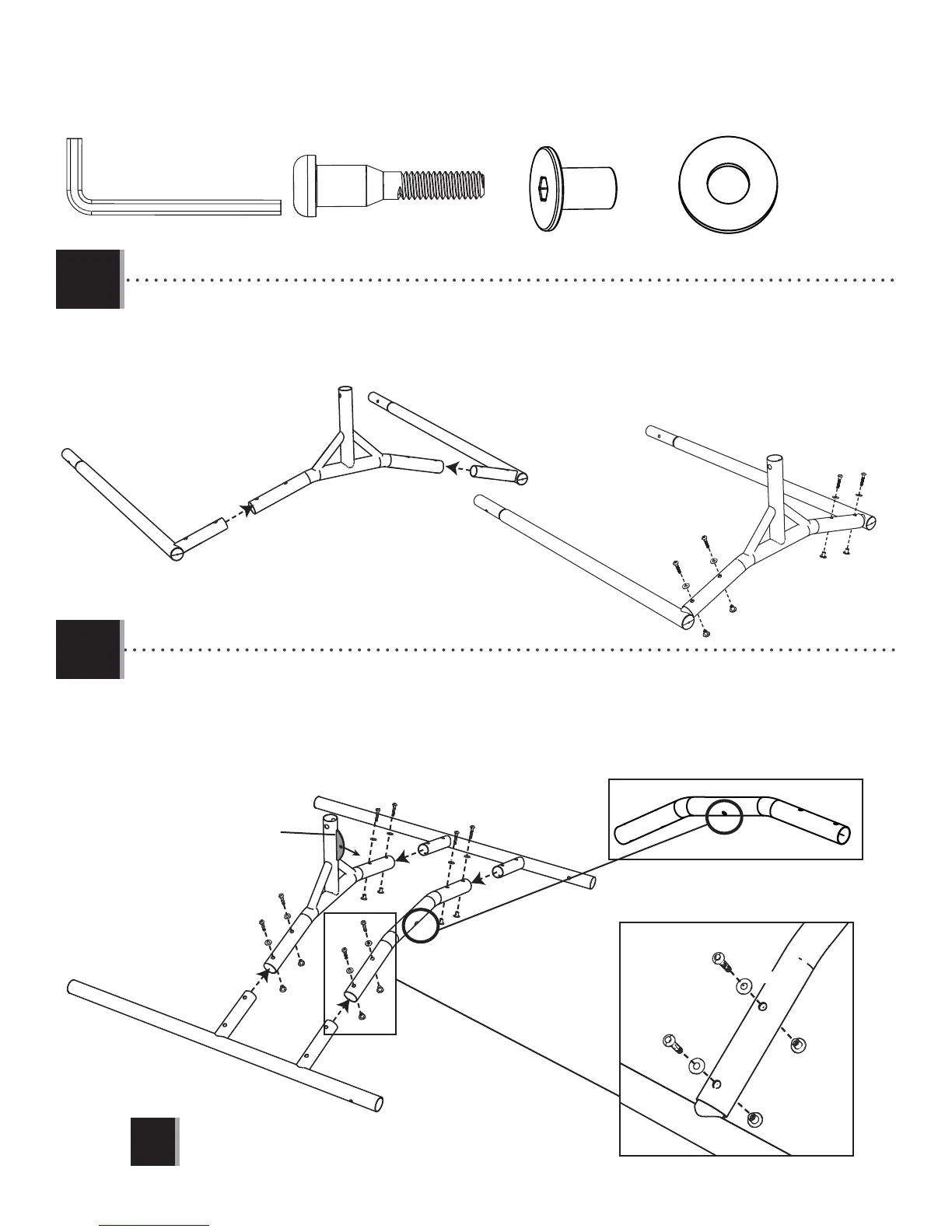
TOOLS AND HARDWARE REQUIRED
X SECTION 1 (CONTINUED)
CVZ (x12)
DXY (x12)
ATB (x12)
CPP
CPP
CPL
DXY
ATB
ATB
DXY
CVZ
CVZ
1.1
Connect the two Front Skids (CPP) to the Front Cross Brace (CPL) with the hardware shown.
Connect the two Rear Skids (CPQ) to the Rear Cross Brace (CPM) and the Middle Cross Brace (CPN). Secure with the
hardware shown.
ATB
CVZ
ATB
DXY
DXY
CVZ
CPQ
CPQ
CPM
CPN
Only nger-tighten this hardware.
!
Orient this bracket in the
direction shown.
This hole should be facing down.
1.2
3/16 in/po (≈5 mm)
(2)

Related product manuals