EasyManua.ls Logo

Lifetime QUICK ADJUST II - Leyenda de Íconos

Lifetime QUICK ADJUST II
44 pages
Print Icon
To Next Page IconTo Next Page
To Next Page IconTo Next Page
To Previous Page IconTo Previous Page
To Previous Page IconTo Previous Page
Loading...
8
TOOLS AND HARDWARE REQUIRED / OUTILS ET QUINCAILLERIE REQUIS / INSTRUMENTAL Y HERRAJE REQUERIDOS
SECTION 1 (CONTINUED) / SECTION 1 (SUITE) / SECCIÓN 1 (CONTINUACIÓN)
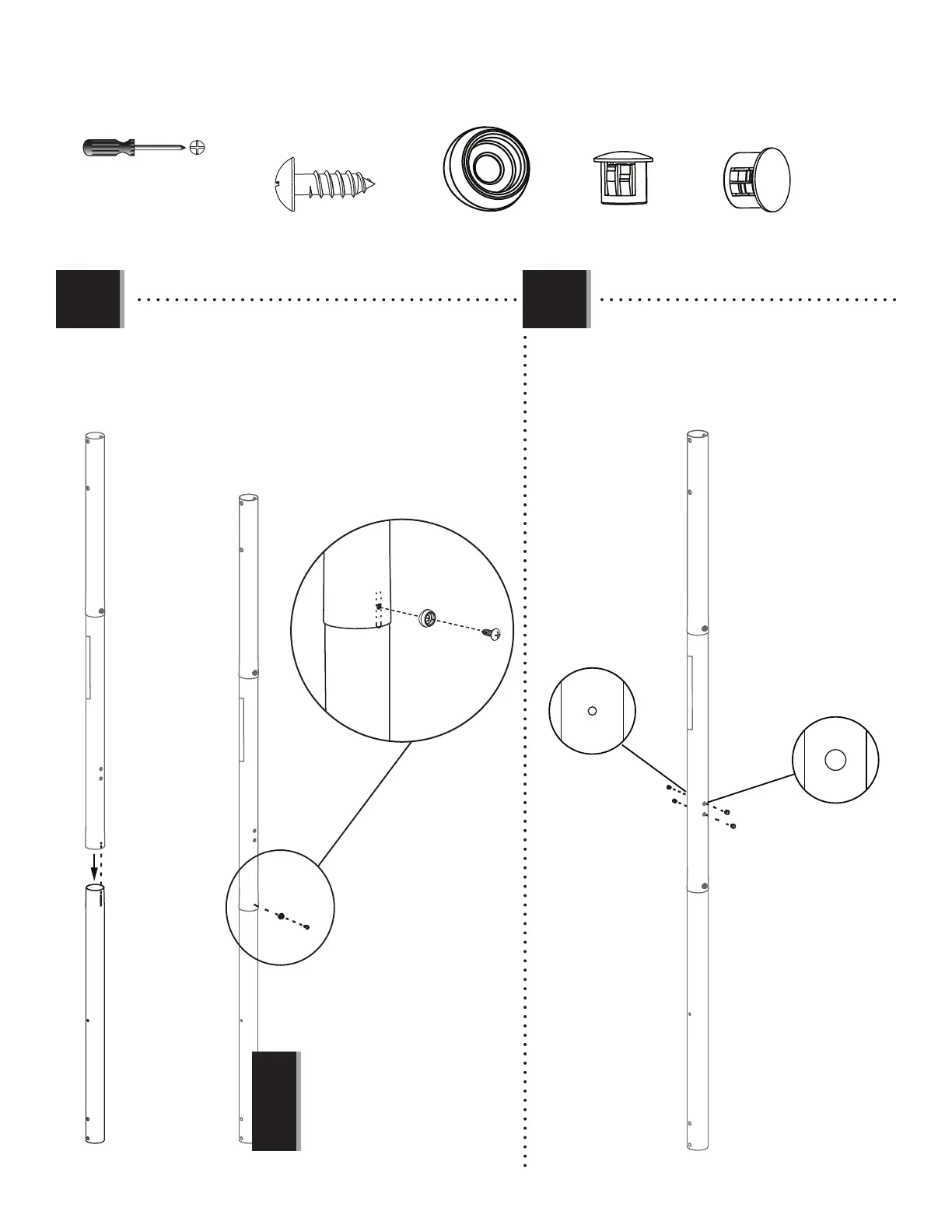
Secure the middle pole to the bottom pole (ALE) using the
same method as steps 1.2–1.3.
Attachez bien le poteau du milieu au poteau inférieur (ALE)
en utilisant le même méthode des étapes 1.2 – 1.3.
Sujete el poste intermedio al poste inferior (ALE) usando el
mismo método de los pasos 1.2–1.3.
Insert the plugs (AOF & ANS) into the holes in
the middle pole.
Insérez les capuchons (AOF et ANS) dans les
trous dans le poteau du milieu.
Inserte los tapones (AOF y ANS) en los
agujeros en el poste intermedio.
1.3
SECTION 1 (CONTINUED) / SECTION 1 (SUITE) / SECCIÓN 1 (CONTINUACIÓN)
ADS (x1)
CIH
(x1)
1.4
ALF
ALE
AOF (x2) ANS (x2)
ANS
AOF
CIH
ADS
!
The screw should be fl ush with the pole,
but will spin freely once inserted.
La vis sera au ras du poteau, mais elle
tournera librement une fois insérée.
El tornillo estará a ras del poste, mas
girará libremente un vez insertado.

Related product manuals