EasyManua.ls Logo

Lightning Audio FF150.2 - Page 14

Default Icon
44 pages
Print Icon
To Next Page IconTo Next Page
To Next Page IconTo Next Page
To Previous Page IconTo Previous Page
To Previous Page IconTo Previous Page
Loading...
14
Français
Installation
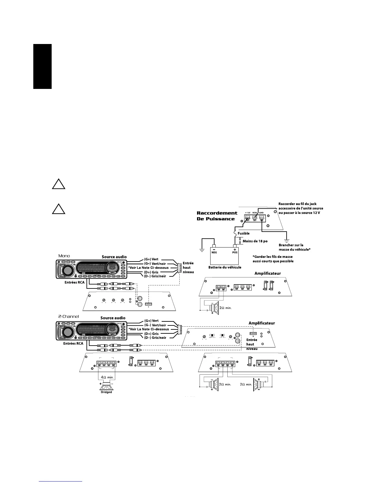
6. Préparez le fil dactivation REM qui devra être relié à lampli en dénudant 1/2 po de son extrémité. Insérez
la partie dénudée dans la borne REM, puis fixez le fil en vissant la vis sans tête. Connectez lautre
extrémité du fil REM à une source positive commutée de 12 volts. La tension commutée provient
généralement de lantenne ou du câble daccessoires de la source audio. Si la source audio ne comporte
pas de telles sorties, nous recommandons de raccorder un interrupteur mécanique en ligne avec une
source de 12 volts pour activer lampli.
7. Montez solidement lampli sur le véhicule ou le rack dampli. Prenez soin de ne pas le fixer sur des
panneaux en carton ou en plastique. Les vis pourraient en effet se décoller des panneaux sous leffet des
vibrations de la route ou des arrêts soudains du véhicule.
8. Connectez le signal à lampli en branchant les câbles RCA/entrées de signaux élevés dans les prises
dentrée de lampli.
9. Connectez les haut-parleurs : dénudez les fils des haut-parleurs de 1/2" et insérez la partie dénudée dans
la borne du haut-parleur, puis serrez la vis sans tête pour fixer le tout. Veillez à respecter la polarité des
haut-parleurs. NE mettez
10. Effectuez une vérification finale du câblage pour vous assurer que toutes les connexions sont bien
mises. Vérifiez toutes les connexions dalimentation et de mise à la masse en vue de fils effilochés
et de connexions desserrées pouvant causer des problèmes.
REMARQUE : vérifiez les polarités de signal à laide des schémas.
MISE EN GARDE : ces amplificateurs ne sont pas recommandés pour des charges
dimpédance inférieures à 2 stéréo ou 4 pontées (mono).
!
SPEAKER
12V
15A 15A
REM GND
FUSE
+
+
-
JUICE
BOOST X-OVER GAIN PROTECT
INPUT
POWER
L
L
R
HI INPUT
MIN MAX40 2500dB 12dB
+-
R
+-
JUICE
BOOST
INPUT
PROTECT
POWER
GAIN
MIN MAX
X-OVER FILTER
40 400
FLAT 50Hz
0dB 12dBHIGH LOW
L
HI INPUT
+-
R
+-
L
25A
FUSE
12V REM GND
+
SPEAKERS
+-
R
+-
BRIDGED
+
-
L
25A
FUSE
12V REM GND
+
SPEAKERS
+-
R
+-
BRIDGED
+
-
MISE EN GARDE : utilisez un type de
configuration
d'entrée seulement.
L'utilisation à la fois
d'entrées RCA et
haut niveau produira
un effet indésirable.
!
*REMARQUE : si vous utilisez des entrées haut niveau et que vous entendez un bruit de moteur,
connectez le fil noir à la masse du châssis. Si le bruit persiste, contactez votre
distributeur agréé ou le service à la clientèle Lightning Audio.

Table of Contents

Related product manuals