EasyManua.ls Logo

Linde V10 - Page 35

Linde V10
78 pages
Print Icon
To Next Page IconTo Next Page
To Next Page IconTo Next Page
To Previous Page IconTo Previous Page
To Previous Page IconTo Previous Page
Loading...
MvdrvgdwMvdrvgdw
55
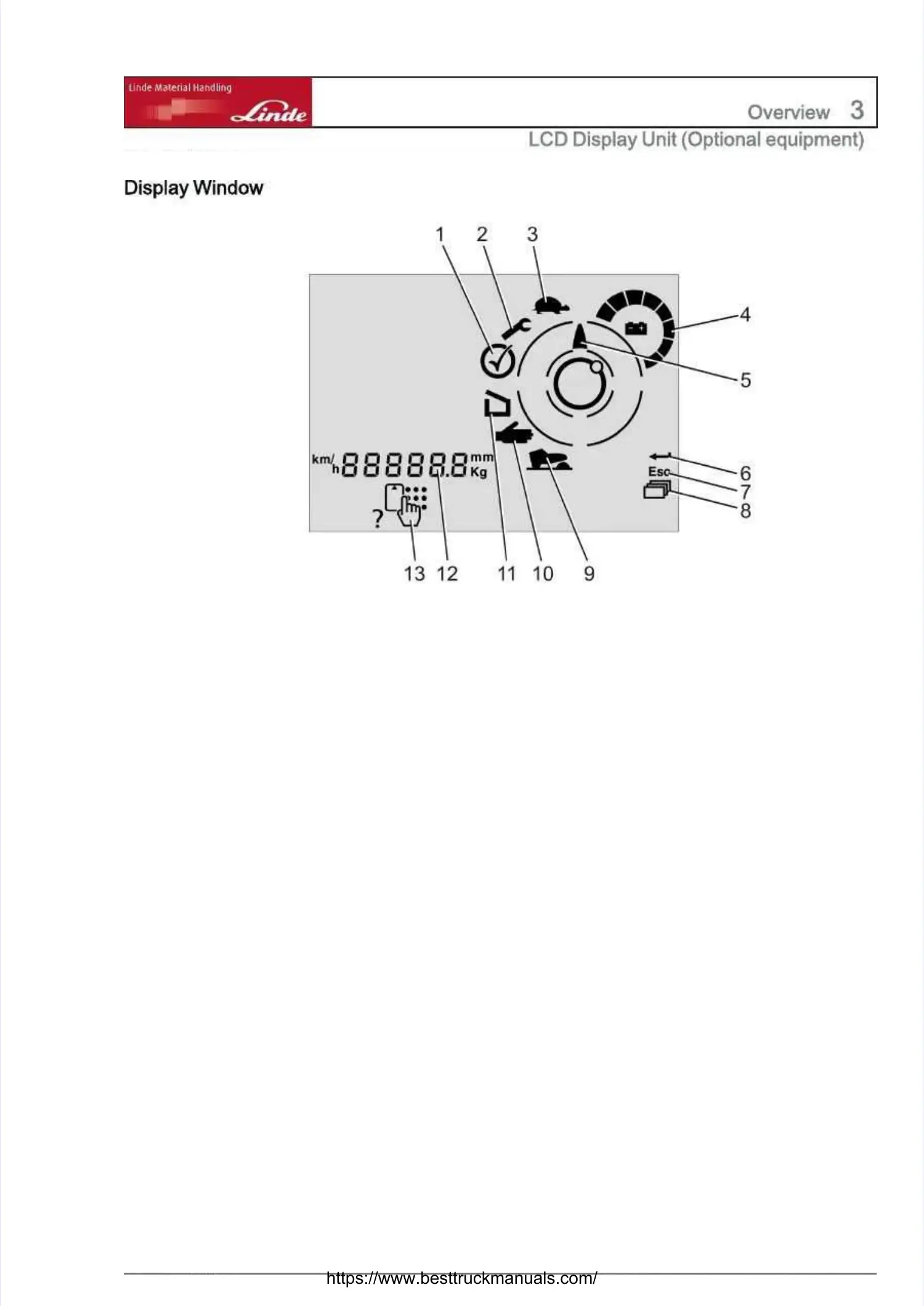
CEHCEH HgsHgspcfpcfyy T`gT`gtt (M(Mptgptgm`fm`fcc dqudqugpbgpbd`td`t))
HgspcHgspcfyfy Qg`hQg`hmwmw
6 6 EEmm``rrbbftftggm`lutm`lutttm`rdm`rdqqugugrrdhdh**
< < BBfgfg``ttd`d`f`f`eedd gg`t`tdrdrvfvfcc dxdxppggrrdhdh**
5 5 EErrddddpp ssppddddhh ffeettggvvdd**
8 8 LLftftttddrryy hghgsesenfnfrraadd hhggspspccfyfy
4 4 UUttddddrrgg``aa ff``aaccdd hhggssppccffyy**
9 9 GG`p`puutt emem``rrbbftftggm`rdm`rdqqugugrrdhdh
1 1 EEff``eeddcc rrddqquuggrrddhh
> > BBdd``uu eennff``aadd rrddqquuggrrddhh
7 7 IImmmmtt sswwggtteenn rrddqquuggrrddhh
6: 6: XwXwm-m-nfnf`h`h mpmpdrdrftftgmgm`` rdrdququgrgrdhdh**
666 6 LLffrrrrggddrr mmppdd``**
6< 6< HgHgspcspcfy fy imimr r mpdmpdrftrftg`a g`a nmunmurs, rs, spdspddh*dh*, , cgcgitit*,*,
cmfhcmfh wdgwdgant*ant*,, drrdrrmrmr bdssbdssfadsfads
65 65 @u@ubdbdrgrgefefcc g`g`puputt rdrdququgrgrdhdh ususgg`a`a kdkdypypfhfh**
*Mptgm`*Mptgm`
M
Mppddrrffttgg``a Ga G``ssttrruueettggmm``s s YY66: : 44<<66<<>>::66664488: T: TU U 66<<//<<::665 5 <<11
https://www.besttruckmanuals.com/

Related product manuals