EasyManua.ls Logo

Line 6 M13 - True Bypass

Line 6 M13
16 pages
Print Icon
To Previous Page IconTo Previous Page
To Previous Page IconTo Previous Page
Loading...
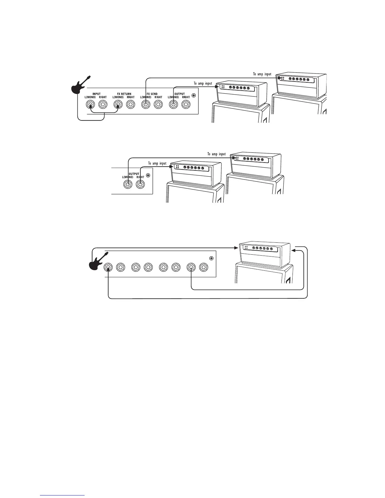
Or just run the full set of FX Units out to 2 amps in true stereo like so:
You could also hook up like this, to put M13 Stompbox Modeler into your amp’s effect
loop without using M13 Stompbox Modeler’s send/return jacks at all:
INPUT
L(MONO) RIGHT
FX SEND
L(MONO) RIGHT
OUTPUT
L(MONO) RIGHTL(MONO) RIGHT
FX RETURN
To amp input
From amp Send
To amp Return
These are just a few examples. Be creative!
True Bypass
You can choose in SETUP whether to use the True Bypass or DSP Bypass. If you choose
True Bypass, that will be activated when all FX Units are bypassed, the looper is not
running, and nothing is connected to the external effect loop return. In that state, relays
will switch your signal to an all-analog path. As usual with any relay switching system,
you may hear an audible click in your audio as the relays switch. If you choose DSP
Bypass instead, you’ll get the benefit of hearing delay and reverb trails smoothly decay,
rather than being immediately cut off, when you bypass.

Related product manuals