EasyManua.ls Logo

liquidarc Maxmig 210R - General Assembly

Default Icon
36 pages
Print Icon
To Next Page IconTo Next Page
To Next Page IconTo Next Page
To Previous Page IconTo Previous Page
To Previous Page IconTo Previous Page
Loading...
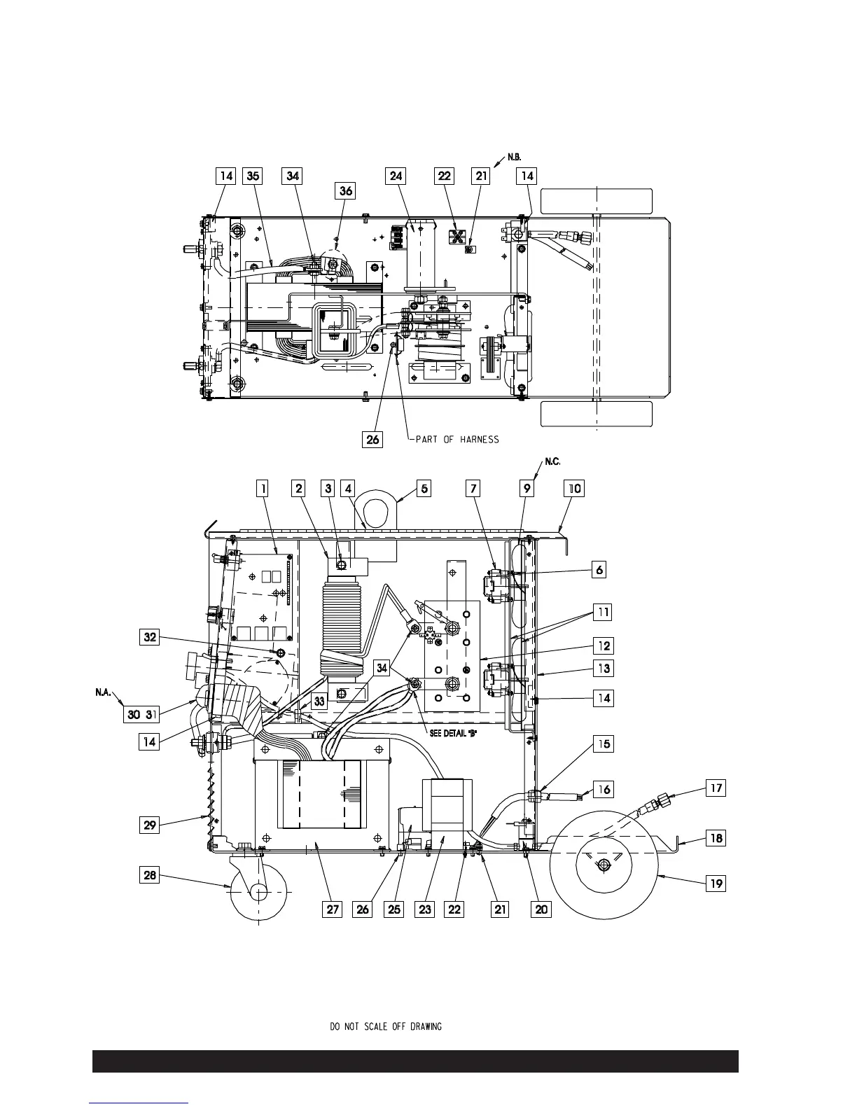
Page 16 Maxmig 210 IMA 578BLA
AG1394 for Code 1483
AG1376-1 for Code 1539
Ref: AG1394 (28.10.98)
General Assembly
Maxmig 210i
AP-82-C
Operative: 4.7.03
Supersedes: 28.10.98

Related product manuals