EasyManua.ls Logo

liquidarc Maxmig 210R - Page 28

Default Icon
36 pages
Print Icon
To Next Page IconTo Next Page
To Next Page IconTo Next Page
To Previous Page IconTo Previous Page
To Previous Page IconTo Previous Page
Loading...
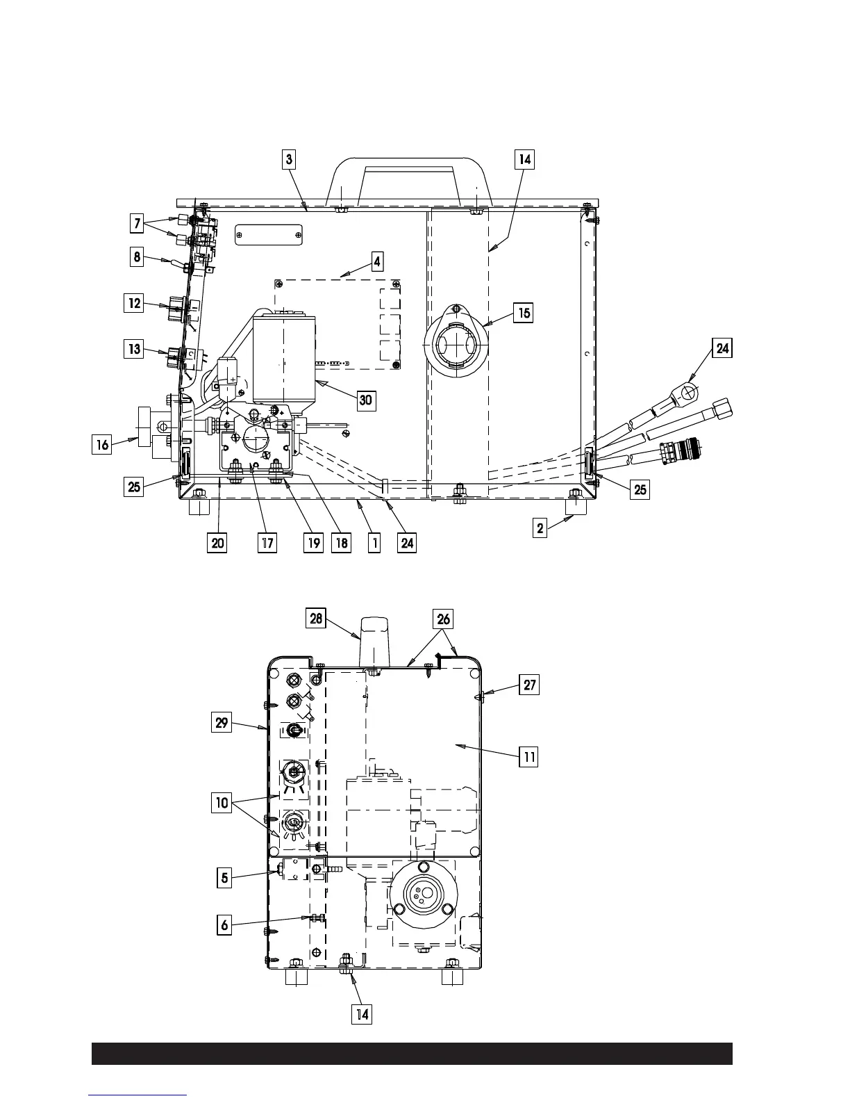
Page 28 Maxmig 210 IMA 578BLA
General Assembly
Maxidrive 2R
AP-93-C
Operative: 4.7.03
Supersedes: 28.10.98
Ref. AG1412 for Code 1547

Related product manuals