EasyManua.ls Logo

LORD MV5-AR - Cabling and Termination

LORD MV5-AR
29 pages
Print Icon
To Next Page IconTo Next Page
To Next Page IconTo Next Page
To Previous Page IconTo Previous Page
To Previous Page IconTo Previous Page
Loading...
7
MV5-AR USER MANUAL
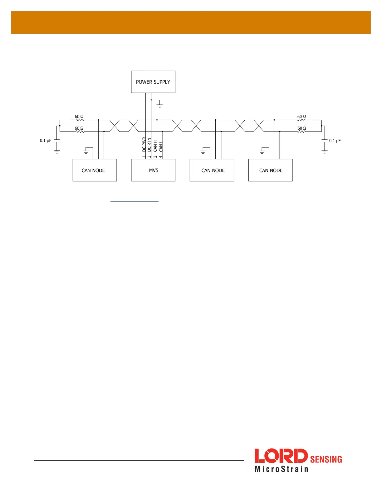
2.4 Cabling and Termination
LORD recommends split termination on both ends of the cable for optimum EMC
performance.
Recommended mating connector shell: TE Connectivity 776487-1 or equivalent
Figure 1. MV5-AR Cabling and Termination

Table of Contents