EasyManua.ls Logo

Lowrance HOOK-3x - Flush Mount Installation

Lowrance HOOK-3x
4 pages
Print Icon
To Next Page IconTo Next Page
To Next Page IconTo Next Page
To Previous Page IconTo Previous Page
To Previous Page IconTo Previous Page
Loading...
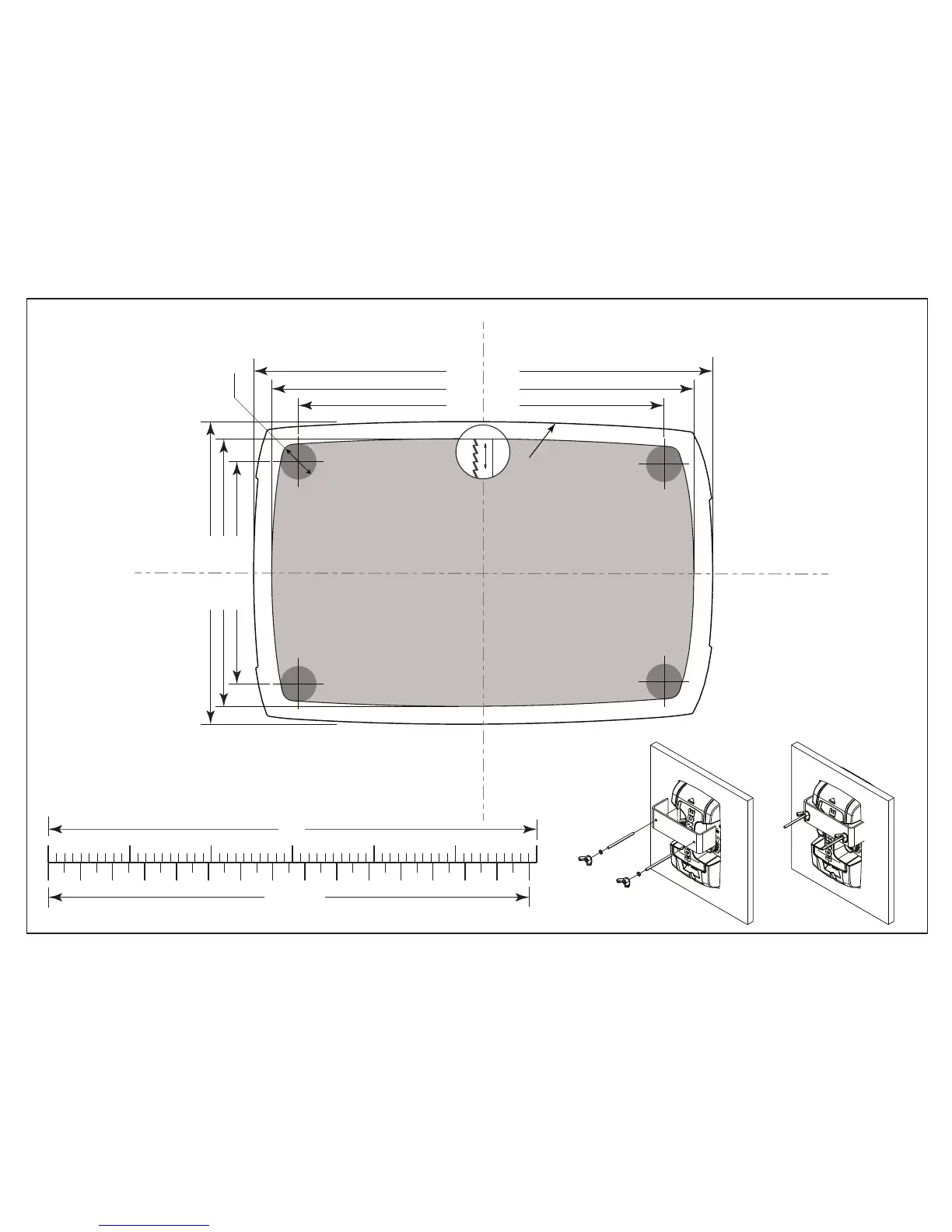
Check dimensions before cung
6"
150 mm
Flush Mount
83.5mm (3.29")
69.5mm (2.74")
94.5mm (3.72")
11mm (7/16)
131 mm (5.17")
114 mm (4.49")
143 mm (5.64")
L
C
L
C
Product Outline
TOP

Related product manuals