EasyManua.ls Logo

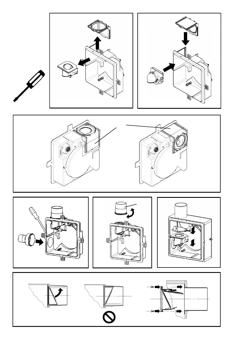
Lunos Silvento - Silvento Assembly and Installation Steps; Step-by-Step Housing Installation

Lunos Silvento
Print Icon
To Next Page IconTo Next Page
To Next Page IconTo Next Page
To Previous Page IconTo Previous Page
To Previous Page IconTo Previous Page
Loading...
10
(D)
5.3
5.4
5.5
(F)
5.7
(B)
(B)
(A)
(C)
5.6
5
5.1 5.2
(E)

Related product manuals